monter instalacji i urzadzen sanitarnych 713[02] z1 10 u

background image

Projekt współfinansowany ze środków Europejskiego Funduszu Społecznego”


MINISTERSTWO EDUKACJI
NARODOWEJ




Andrzej Świderek





Instalacja urządzeń lokalnych oczyszczalni ścieków
713[02].Z1.10






Poradnik dla ucznia









Wydawca

Instytut Technologii Eksploatacji – Państwowy Instytut Badawczy
Radom 2006

background image

Projekt współfinansowany ze środków Europejskiego Funduszu Społecznego”

1

Recenzenci:
mgr inż. Janina Falkowska
mgr inż. Elwira Krzemieniewska


Opracowanie redakcyjne:
mgr inż. Marzena Więcek



Konsultacja:
dr inż. Bożena Zając



Korekta:



Poradnik stanowi obudowę dydaktyczną programu jednostki modułowej 713[02].Z1.10
„Instalacja urządzeń lokalnych oczyszczalni ścieków” zawartej w modułowym programie
nauczania dla zawodu monter instalacji sanitarnych.





















Wydawca

Instytut Technologii Eksploatacji – Państwowy Instytut Badawczy, Radom 2006

background image

Projekt współfinansowany ze środków Europejskiego Funduszu Społecznego”

2

SPIS TREŚCI



1. Wprowadzenie

3

2. Wymagania wstępne

5

3. Cele kształcenia

6

4. Materiał nauczania

7

4.1. Zbiorniki bezodpływowe i osadniki gnilne

7

4.1.1. Materiał nauczania

7

4.1.2. Pytania sprawdzające 13
4.1.3. Ćwiczenia 13
4.1.4. Sprawdzian postępów 14
4.2. Urządzenia lokalnych oczyszczalni ścieków

15

4.2.1. Materiał nauczania

15

4.2.2. Pytania sprawdzające 27
4.2.3. Ćwiczenia 27
4.2.4. Sprawdzian postępów 31
4.3. Instalacje technologiczne lokalnych oczyszczalni ścieków

32

4.3.1. Materiał nauczania

32

4.3.2. Pytania sprawdzające 39
4.3.3. Ćwiczenia 40
4.3.4. Sprawdzian postępów 41
5. Sprawdzian osiągnięć

42

6. Literatura

46

background image

Projekt współfinansowany ze środków Europejskiego Funduszu Społecznego”

3

1. WPROWADZENIE

Poradnik ten będzie Ci pomocny w przyswajaniu wiedzy o urządzeniach lokalnych

oczyszczalni ścieków wykonywanych w terenie nieuzbrojonym, stosowanych układach
technologicznych, warunkach wykonywania instalacji oczyszczania ścieków, a także przepisach
bhp i ochrony ppoż. obowiązujących przy wykonywaniu montażu urządzeń lokalnego
oczyszczania ścieków.

Poradnik ten zawiera:

1. Wymagania wstępne, czyli wykaz niezbędnych umiejętności i wiedzy, które powinieneś

mieć opanowane, aby przystąpić do realizacji tej jednostki modułowej.

2. Cele kształcenia tej jednostki modułowej.
3. Materiał nauczania (rozdział 4) który umożliwia samodzielne przygotowanie się do

wykonania ćwiczeń i zaliczenia sprawdzianów. Do poszerzenia wiedzy wykorzystaj
wskazaną literaturę oraz inne źródła informacji. Materiał obejmuje również ćwiczenia, które
zawierają:

wykaz materiałów, narzędzi i sprzętu potrzebnych do realizacji ćwiczenia,

pytania sprawdzające wiedzę potrzebną do wykonania ćwiczenia,

sprawdzian teoretyczny,

sprawdzian umiejętności praktycznych.

4. Przykład zadania/ćwiczenia oraz zestaw pytań sprawdzających Twoje opanowanie wiedzy

i umiejętności z zakresu całej jednostki. Zaliczenie tego ćwiczenia jest dowodem osiągnięcia
umiejętności praktycznych określonych w tej jednostce modułowej. Wykonując sprawdzian
postępów powinieneś odpowiadać na pytanie tak lub nie, co oznacza, że opanowałeś materiał
albo nie.

Jeżeli masz trudności ze zrozumieniem tematu lub ćwiczenia, to poproś nauczyciela lub

instruktora o wyjaśnienie i ewentualne sprawdzenie, czy dobrze wykonujesz daną czynność. Po
przerobieniu materiału spróbuj zaliczyć sprawdzian z zakresu jednostki modułowej.

Jednostka modułowa: Instalacja urządzeń lokalnych oczyszczalni ścieków, której treści teraz

poznasz jest jednym z modułów koniecznych do zapoznania się z urządzeniami lokalnych
oczyszczalni ścieków, warunkami ich lokalizacji, wymaganiami w zakresie przeprowadzenia
montażu i odbioru technicznego, a także obowiązującymi przepisami bhp i ppoż.

Bezpieczeństwo i higiena pracy

W czasie pobytu w pracowni musisz przestrzegać regulaminów, przepisów bhp oraz

instrukcji przeciwpożarowych, wynikających z rodzaju wykonywanych prac. Przepisy te
poznasz podczas trwania nauki.




background image

Projekt współfinansowany ze środków Europejskiego Funduszu Społecznego”

4












































Schemat

układu jednostek modułowych

713[02].Z1

Technologia montażu instalacji wodociągowych i kanalizacyjnych

713[02].Z1/2/3/4.01

Prace przygotowawczo – zakończeniowe przy wykonywaniu instalacji

713[02].Z1/2/3/4.02

Montaż instalacji z rur stalowych

713[02].Z1/2/3/4.03

Montaż instalacji z rur miedzianych

713[02].Z1/2.04

Montaż instalacji z tworzyw sztucznych

713[02].Z1.05

Montaż instalacji zimnej wody i ciepłej wody użytkowej

713[02].Z1.06

Instalacja urządzeń do lokalnego i centralnego przygotowania ciepłej

wody użytkowej

713[02].Z1.07

Instalacja urządzeń lokalnych ujęć wody

713[02].Z1.08

Montaż instalacji z rur żeliwnych i kamionkowych

713[02].Z1.09

Montaż instalacji kanalizacyjnej

713[02].Z1.10

Instalacja urządzeń lokalnych ujęć ścieków

713[02].Z1.11

Konserwacja instalacji wodociągowych i kanalizacyjnych

background image

Projekt współfinansowany ze środków Europejskiego Funduszu Społecznego”

5

2. WYMAGANIA WSTĘPNE

Przystępując do realizacji programu jednostki modułowej „Instalacja lokalnych oczyszczalni

ścieków” powinieneś umieć:
− rozpoznawać rodzaje ścieków,

− rozpoznawać rodzaje sieci,

− wykonywać prace montażowe sieci wodociągowych i kanalizacyjnych zgodnie

z obowiązującymi przepisami,

− wykonywać prace przygotowawczo – zakończeniowe przy montażu sieci,

− wykonywać połączenia rur z tworzyw sztucznych, żeliwa i kamionki,

− określać zasady tworzenia sieci kanalizacyjnej i wodociągowej,
− określać zasady wykonywania wykopów,

− wykonywać prace związane z układaniem przewodów kanalizacyjnych,

− wykonywać prace zakończeniowe związane z montażem sieci wodociągowych

i kanalizacyjnych,

− stosować terminologię budowlaną i instalacyjną,

− przestrzegać zasad bezpiecznej pracy, przewidywać i zapobiegać zagrożeniom,

− stosować procedury udzielania pierwszej pomocy osobom poszkodowanym,
− odczytywać i interpretować rysunki budowlane i instalacyjne,

− posługiwać się dokumentacją budowlaną,

− wykonywać przedmiary i obmiary robót,
− wykonywać pomiary i rysunki inwentaryzacyjne,

− organizować stanowiska składowania i magazynowania,

− korzystać z różnych źródeł informacji.

background image

Projekt współfinansowany ze środków Europejskiego Funduszu Społecznego”

6

3. CELE KSZTAŁCENIA

W wyniku realizacji programu jednostki modułowej powinieneś umieć:

− wykonać prace przy instalacji urządzeń lokalnych oczyszczalni ścieków, zgodnie

z obowiązującymi przepisami bhp i ochrony ppoż.,

− przygotować na podstawie wykazu (dokumentacji) materiały potrzebne do montażu

urządzeń lokalnych oczyszczalni ścieków,

− ocenić stan techniczny urządzeń lokalnych oczyszczalni ścieków do montażu,
− wykonać osadniki gnilne z kręgów betonowych,

− wykonać studnie chłonne i drenaże rozsączające,

− wykonać kontenerowe oczyszczalnie ścieków,
− wykonać filtry gruntowo – roślinne, złoża hydroponiczne, filtry mineralne,

− zamontować zbiorniki ze złożem zawieszonym napowietrzanym,

− zamontować przewody i uzbrojenie będące wyposażeniem urządzeń lokalnych oczyszczalni

ścieków,

− przeprowadzić próby szczelności zamontowanych urządzeń lokalnych oczyszczalni

ścieków,

− posłużyć się dokumentacją techniczną.

background image

Projekt współfinansowany ze środków Europejskiego Funduszu Społecznego”

7

4. MATERIAŁ NAUCZANIA


4.1. Zbiorniki bezodpływowe i osadniki gnilne


4.1.1. Materiał nauczania



Dla mieszkańców budynków wielorodzinnych lub domów jednorodzinnych z podłączeniem

do sieci kanalizacyjnej, powstające w gospodarstwie domowym ścieki nie stanowią problemu.
Opuszczają granice mieszkania lub domu odpływając do komunalnych urządzeń
kanalizacyjnych.

Dla mieszkańców domów jednorodzinnych usytuowanych w terenie, w którym brak jest

sieci kanalizacyjnej, odprowadzanie i unieszkodliwianie powstających ścieków należy rozwiązać
na etapie budowy domu. Niezbędna staje się wówczas budowa lokalnej oczyszczalni lub
lokalnego urządzenia do gromadzenia ścieków.

Oczyszczalnie ścieków to zespoły budowli służące do oczyszczania ścieków

i unieszkodliwiania osadów ściekowych wraz z obiektami towarzyszącymi.
W zależności od procesów oczyszczania oczyszczalnie mogą być wykonywane jako:
-

mechaniczne, gdzie oczyszczanie ścieków polega na usuwaniu zanieczyszczeń stałych przez
cedzenie (kraty, sita), osadzanie czyli sedymentację ( piaskowniki, osadniki), unoszenie
czyli flotację (odtłuszczacze), filtrowanie (filtry mechaniczne, piaskowe),

-

biologiczne, gdzie procesy oczyszczania polegają na usunięciu zanieczyszczeń pochodzenia
organicznego z wykorzystaniem procesów tlenowych i beztlenowych prowadzących do
utleniania lub mineralizacji substancji organicznych zawartych w ściekach,

-

chemiczne, gdzie oczyszczanie polega na usunięciu zanieczyszczeń z wykorzystaniem
procesów koagulacji (łączenie się koloidalnych cząstek zanieczyszczeń w większe skupiska
doprowadzając do wytrącania się ich ), neutralizacji, chlorowania.


Osadniki gnilne

W warunkach lokalnych stosowane są bezodpływowe i przepływowe szczelne osadniki

podziemne.

Budowa zbiornika bezodpływowego (szamba) zgodnie z obowiązującym prawem nie

wymaga pozwolenia na budowę, ale niezbędne jest zgłoszenie inwestycji do urzędu
administracji państwowej. Po upływie 30 dni można przystąpić do budowy, jeśli urząd nie
zgłosił zastrzeżeń ani nie wymaga uzupełnienia dokumentacji.
Budowa zbiornika bezodpływowego – szamba jest optymalnym rozwiązaniem w sytuacji, gdy:
-

nie ma możliwości budowy przydomowej oczyszczalni ścieków ze względu na zbyt wysoki
poziom wód gruntowych lub zbyt małą powierzchnię działki,

-

będzie to rozwiązanie czasowe do czasu budowy miejscowej (lokalnej) sieci kanalizacyjnej.

Zbiorniki bezodpływowe– szamba – doły gnilne, są to zbiorniki, w których zawiesiny wytrącane
z gromadzących się ścieków podlegają gniciu. W zależności od warunków atmosferycznych
proces ten zachodzi z różną szybkością. Zazwyczaj niezbyt duża pojemność zbiornika zmusza
użytkownika do dość częstego opróżniania.

Konstrukcja osadnika nie gwarantuje całkowitego rozłożenia zgromadzonych na dnie

osadów, w wyniku czego powstają bardzo specyficzne nieprzyjemne zapachy. Urządzenia te,
choć przestarzałe w swojej budowie, dopuszczone są do użytkowania.

Niezależnie od wybranego rozwiązania szambo powinno być:

-

szczelne – niedopuszczalne jest, by ścieki z bezodpływowego zbiornika przedostawały się

do gruntu,

background image

Projekt współfinansowany ze środków Europejskiego Funduszu Społecznego”

8

-

odporne i trwałe,

-

zabezpieczone szczelną pokrywą z włazem przed osobami trzecimi,

-

wyposażone w układ wentylacyjny.
Szambo kojarzy się większości inwestorów z brzydkim, betonowym zbiornikiem będącym

w dodatku potencjalną bombą biologiczną. Szambo w warunkach zabudowy nieruchomości
może być ukryte pod ziemią i nie wpływać na zagospodarowanie przestrzenne terenu.
Zbiorniki bezodpływowe wykonywane są z:
-

polietylenu o wysokiej gęstości (HDPE),

-

laminatu poliestrowego wzmacnianego włóknem szklanym,

-

kręgów betonowych,

-

żelbetu.


Rys. 1. Szambo z polietylenu, laminatu, żelbetu [12]

Zbiorniki wykonane z tworzyw sztucznych i laminatu charakteryzują się:

- szczelnością (ścieki nie przedostaną się do gruntu, a z drugiej strony do samego zbiornika nie

będą przenikać żadne substancje),

- lekkością co sprawia, iż są łatwe w transporcie i montażu,

- trwałością,

- odpornością na korozję,

- nie wchodzeniem w reakcje z otoczeniem.
Ich wadami są: mała wytrzymałość na obciążenia (gruba warstwa ziemi, parkowanie
samochodów); większy koszt (szczególnie zbiorników laminatowych).

Podstawową zaletą zbiorników wykonanych z materiałów tradycyjnych (żelbet, beton) jest

znaczna wytrzymałość, nie trzeba ich wzmacniać praktycznie w żadnych warunkach..
Zasadniczą wadą takich zbiorników jest brak „naturalnej” szczelności - trzeba je pokryć masami
uszczelniającymi (szczególnie połączenia) i jest to czynność trudna do wykonania. Oprócz tego
zbiorniki są ciężkie i wymagają dźwigu do montażu. Zbiorniki takie są tańsze od tych
wykonanych z tworzyw sztucznych
Zbiorniki bezodpływowe powinny być zlokalizowane w odległości minimum:

-

15 metrów od studni z wodą pitną;

-

5 metrów od okien i drzwi zewnętrznych budynku jednorodzinnego;

-

2 metry od granicy działki, drogi lub chodnika.

Przy założeniu, że całkowite zużycie wody w ciągu jednej doby przez jednego mieszkańca
w budynku jednorodzinnym wynosi ok. 150 dm

3,

a ścieki będą wywożone co 14 dni - pojemność

zbiornika bezodpływowego dla czteroosobowej rodziny powinna wynosić ok. 8,4 m³. Jeśli ścieki
będzie wywozić się częściej, to wielkość zbiornika powinna odpowiadać pojemności wozów
asenizacyjnych, jakimi dysponuje przedsiębiorstwo zajmujące się wywozem nieczystości
płynnych. Takie rozwiązanie będzie dla obu stron najlepsze pod względem eksploatacyjnym
i finansowym.

background image

Projekt współfinansowany ze środków Europejskiego Funduszu Społecznego”

9

Rys. 2. Bezodpływowy zbiornik na ścieki [5]


Zasada wykonania zbiornika sprowadza się do wykonania wykopu. W przypadku

zbiorników ciężkich powinien być zapewniony dojazd do wykopu sprzętem ciężkim,
w przypadku zbiorników z tworzyw sztucznych nie ma takiej konieczności. Wykop powinien
być na tyle szeroki, by pozostawić po 30 cm luzu z każdej strony w stosunku do planowanej
szerokości (średnicy) zbiornika.

Zbiorniki betonowe lub żelbetowe nie wymagają dodatkowych przygotowań wykopu. Po

ustawieniu w wykopie powinno być wykonane uszczelnienie spoin, a najlepiej całej powierzchni
zbiornika i podłączenie do kanalizacji. Zasypywanie powinno być przeprowadzane
zagęszczanymi warstwami piasku (po ok. 25 cm każda).

Zbiorniki z tworzyw sztucznych muszą mieć podsypkę z zagęszczonego piasku (ok. 20 cm),

a w przypadku wysokiego poziomu wód gruntowych zbiorniki te wymagają też zakotwienia - za
pomocą płyty żelbetowej, taśm, kotew albo geowłókniny. Przed zasypaniem trzeba zbiornik
napełnić wodą i wykonać podłączenie do kanalizacji.

Warstwa ziemi nad zbiornikiem nie powinna być grubsza niż 80 cm, zaś zbiornik

(szczególnie z tworzyw sztucznych) nie powinien być obciążony, np. drogą dojazdową.

Budowa szamba jest w porównaniu z budową przydomowej oczyszczalni ścieków

zdecydowanie tańsza jednak koszty eksploatacji są zdecydowanie wyższe niż
w przydomowej oczyszczalni ścieków.

W osadnikach przepływowych jedno lub wielokomorowych uzyskiwane są korzystniejsze

dla środowiska warunki oczyszczania.

Osadnik wykonywany na budowie jest z żelbetu. Może być zbudowany z monolitycznych

prefabrykatów, można też wylać go na miejscu budowy. Osadniki prefabrykowane wykonuje się
z tworzyw sztucznych - polietylenu ciężkiego (HDPE) lub kompozytu poliestrowo-szklanego.
Mogą być wykonane jako jedno-, dwu- lub trzykomorowe.

Rys. 3. Osadnik z tworzywa sztucznego [12]

background image

Projekt współfinansowany ze środków Europejskiego Funduszu Społecznego”

10

Osadnik gnilny to szczelny zbiornik podziemny o pojemności kilku m

3

. Najczęściej jest

„dłuższy niż szerszy”, co umożliwia przepływ z osadzaniem cząstek. Zbiornik wylewany na
miejscu budowy ma często dno ukształtowane ze spadkiem, co usprawnia zagęszczanie
osiadłych zawiesin; a zbiornik prefabrykowany – kształt cylindryczny (optymalny dla
pożądanych warunków przepływu).

W osadnikach jedno lub dwukomorowych występują zdecydowanie lepsze warunki

oczyszczania ścieków bytowo – gospodarczych. Ścieki przepływają przez komory osadnika w
ciągu przynajmniej 3 dni zachowując określony kierunek przepływu. Pojemność zbiornika musi
odpowiadać ilości ścieków, które dopływają do niego w czasie 3 dni. Pojemność pierwszej
komory zazwyczaj odpowiada 2/3, a drugiej 1/3 objętości całego zbiornika.

Jeżeli zbiornik jest trzykomorowy, to pojemności każdej z komór wynoszą odpowiednio:

pierwsza ½ ,a dwie pozostałe każda po¼ całkowitej objętości dołu gnilnego.

Całkowita pojemność użyteczna osadnika gnilnego składa się z części przepływowej i części

osadowej. Liczba komór osadników gnilnych zależy od ich objętości użytecznej.

Tabela 1. Wielkości charakteryzujące osadniki gnilne [źródło własne]

Głębokość osadnika [ m ]

Objętość

użyteczna

osadnika gnilnego

[ m

3

]

Liczba komór

osadnika

minimalna maksymalna

3 - 4

2 lub 3

1,0

1,5

4 - 15

3

1,0

2,2

15 - 50

3 lub 4

1,0

2,5

50 - 100

4

1

3,0

Dla pojedynczego osadnika gnilnego objętość użyteczna nie może być mniejsza niż:
-

3 m

3

, jeżeli osadnik jest do wstępnego oczyszczania,

-

6 m

3

, jeżeli osadnik jest przeznaczony do oczyszczania biologicznego.

Ponad zwierciadłem ścieków w osadniku powinna być pozostawiona wolna przestrzeń
o minimalnej wysokości 0,4 m. Minimalna szerokość wewnętrzna osadników gnilnych
prostokątnych to 0,75 m, a dla osadników okrągłych średnica minimalna to 1 m.

W osadnikach prostokątnych połączenie dwóch sąsiednich komór powinno być wykonane

w postaci pionowych szczelin o szerokości 20 – 30 mm rozmieszczonych równomiernie na całej
szerokości ściany oddzielającej komory. Krawędź górna szczeliny powinna wystawać ponad
zwierciadło ścieków nie wyżej niż 30 cm, dolna krawędź nie niżej niż 2/5 wysokości osadnika
licząc od jego dna, a wysokość szczelin nie mniejsza niż 20 cm.

W osadnikach dwukomorowych kołowych połączenie komór powinno być wykonane

w postaci kilku otworów o łącznej minimalnej powierzchni 180 cm

2

, których górna krawędź

powinna wystawać ponad zwierciadło ścieków nie wyżej niż 30 cm, dolna krawędź nie niżej niż
2/5 wysokości osadnika licząc od jego dna.

background image

Projekt współfinansowany ze środków Europejskiego Funduszu Społecznego”

11

Rys. 4. Schemat osadnika gnilnego trzykomorowego [3]


Otwory powinny być tak usytuowane, aby droga przepływu ścieków była jak najdłuższa.

Jeżeli osadnik wykonany jest w postaci jednego wielokomorowego zbiornika kołowego lub
prostokątnego - przegrody rozdzielające komory powinny kończyć się 0,1 m poniżej stropu.
Jeżeli osadniki zbudowane są z oddzielnych komór, powinny być one połączone ze sobą
przewodem o średnicy 100 mm.

Rys. 5. Osadniki jedno-, dwu- i trzykomorowe [1]

background image

Projekt współfinansowany ze środków Europejskiego Funduszu Społecznego”

12

Przewód doprowadzający ścieki do osadnika powinien mieć zapewnioną wentylację

wywiewną wyprowadzoną ponad dach najbliższego budynku. Aby zapewnić dopływ powietrza
do osadnika rura wywiewna powinna być ustawiona na stropie ostatniej komory.

Komory osadnika w górnej części ponad poziomem ścieków (osadów wyflotowanych)

powinny być połączone ze sobą. Każda komora ma własny właz inspekcyjny. Na końcu ostatniej
komory znajduje się filtr siatkowy lub mineralny wypełniony najczęściej keramzytem lub
pucolaną, który zapobiega przepływaniu cząstek stałych do dalszych urządzeń kanalizacyjnych.

Ścieki z osadnika gnilnego powinny być odprowadzane przewodem o średnicy 150 mm.

Dno przewodu odprowadzającego ścieki powinno znajdować się na poziomie zwierciadła
ścieków w zbiorniku. Wylot ścieków od strony wewnętrznej osadnika powinien być osłonięty
pionową osłoną zanurzoną minimum 0,3 m pod zwierciadłem ścieków, górna część osłony
powinna wystawać ponad zwierciadło ścieków o 0,2 m.

Usuwanie osadów dolnych i osadów wyflotowanych powinno być przeprowadzane nie

rzadziej niż 2 razy w roku przy wykorzystaniu wozu asenizacyjnego.

W osadnikach Imhoffa - komora fermentacyjna oddzielona jest od komory osadowej

(przepływowej). W czasie przepływu przez osadnik ścieki nie stykają się
z produktami fermentacji osadów i odpływają z osadnika w stanie świeżym nie
przefermentowanym. Mogą być rozsączane w gruncie lub wprowadzane do powierzchniowego
odbiornika wodnego.

Rys. 6. Osadnik Imhoffa [2]


Warunkiem właściwej i prawidłowej pracy osadników jest regularny dopływ ścieków.

W sprawnie działającym osadniku odpływające z niego ścieki mogą być odprowadzane
bezpośrednio do wód powierzchniowych lub do gruntu. Z uwagi na fakt, że nie można w czasie
eksploatacji zapewnić pełnej sprawności ich działania – koniecznym staje się doczyszczanie
ścieków np. na złożach biologicznych, w drenażu rozsączającym lub studni chłonnej.

Technologia oczyszczania w nich jest następująca: ścieki przepływają kolejno przez

wszystkie komory zaopatrzone w pionowe przegrody, w których pozostawione są wolne
przestrzenie przy przeciwnych ścianach osadnika. Taka budowa wymusza przepływ ścieków po
przekątnej komory osadnika wydłużając drogę i czas przepływu. W tym czasie następuje
wydzielenie nierozpuszczonych zanieczyszczeń i osiadanie ich na dnie komory.

W zatrzymanych osadach zachodzi fermentacja gnilna, w czasie której zanieczyszczenia
organiczne ulegają rozkładowi na proste związki nieorganiczne i gazowe. Objętość osadu ulega
zmniejszeniu, a przefermentowany osad nie posiada przykrego zapachu. Pozbawione
zanieczyszczeń zawieszonych ścieki odpływają przewodem do części biologicznego ich
oczyszczania.

background image

Projekt współfinansowany ze środków Europejskiego Funduszu Społecznego”

13

4.1.2. Pytania sprawdzające


Odpowiadając na pytania, sprawdzisz, czy jesteś przygotowany do zaplanowania przebiegu
ćwiczeń i ich wykonania.
1. Kiedy można rozpocząć budowę zbiornika bezodpływowego?
2. Kiedy szambo jest optymalnym rozwiązaniem dla właściciela działki budowlanej?
3. Z jakich materiałów wykonywane są zbiorniki bezodpływowe?
4. Kiedy wykonywane jest szambo z żelbetu?
5. Jakie zalety posiadają zbiorniki bezodpływowe z tworzyw sztucznych?
6. Jakie wady posiadają zbiorniki bezodpływowe z tworzyw sztucznych?
7. Jakie zalety posiadają zbiorniki bezodpływowe z betonu i żelbetu?
8. Jakie wady posiadają zbiorniki bezodpływowe z betonu i żelbetu?
9. W jakich minimalnych odległościach od elementów infrastruktury można usytuować

szambo?

10. Na jakiej głębokości można usytuować osadnik gnilny?
11. Od czego zależy pojemność zbiornika bezodpływowego?
12. W jaki sposób przeprowadza się prace ziemne dla wykonania szamba z tworzywa

sztucznego?

13. W jaki sposób połączone są ze sobą komory zbiornika gnilnego wielokomorowego?
14. Od czego zależy czas przebywania ścieków w osadniku gnilnym?
15. Kiedy stosuje się osadniki gnilne trzykomorowe?
16. W jaki sposób następuje oczyszczanie ścieków w osadniku Imhoffa?

4.1.3. Ćwiczenia


Ćwiczenie 1

Sporządź wykaz czynności, materiałów, sprzętu i narzędzi oraz środków ochrony osobistej

dla montażu zbiornika bezodpływowego z polietylenu w gruncie piaszczystym. Podaj skład
ekipy do wykonania zadania.


Sposób wykonania ćwiczenia

Aby wykonać ćwiczenie powinieneś:

1) zapoznać się z instrukcją wykonania ćwiczenia,
2) zapoznać się z dokumentacją techniczną zadania,
3) zapoznać się z wytycznymi wykonania zbiorników bezodpływowych,
4) zorganizować stanowisko pracy do wykonania ćwiczenia,
5) na arkuszu papieru wykonać niezbędne zestawienia i wykazy,
6) podać skład ekipy,
7) zaprezentować wykonane ćwiczenie,
8) dokonać oceny ćwiczenia.

Wyposażenie stanowiska pracy:

– arkusz papieru,
– długopis,
– ołówek,
– gumka,
– instrukcja wykonania ćwiczenia zawierająca dokumentację zadania,
– katalogi zbiorników bezodpływowych z tworzyw sztucznych różnej wielkości,
– literatura z rozdziału 6.

background image

Projekt współfinansowany ze środków Europejskiego Funduszu Społecznego”

14

Ćwiczenie 2

Sporządź wykaz czynności, materiałów, sprzętu i narzędzi oraz środków ochrony osobistej

dla montażu osadnika gnilnego z kręgów betonowych zgodnie z dokumentacją zamieszczoną
w instrukcji.


Sposób wykonania ćwiczenia

Aby wykonać ćwiczenie powinieneś:

1) zapoznać się z instrukcją wykonania ćwiczenia,
2) zapoznać się z dokumentacją techniczną zadania,
3) zapoznać się z wytycznymi wykonania osadników gnilnych,
4) zorganizować stanowisko pracy do wykonania ćwiczenia,
5) na arkuszu papieru wykonać niezbędne zestawienia i wykazy,
6) podać skład ekipy,
7) zaprezentować wykonane ćwiczenie,
8) dokonać oceny ćwiczenia.

Wyposażenie stanowiska pracy:

– arkusz papieru,
– długopis,
– ołówek,
– gumka,
– instrukcja wykonania ćwiczenia zawierająca dokumentację zadania,
– katalogi materiałów do budowy osadników gnilnych,
– katalogi wyrobów betonowych: kręgów, przykryć, elementów prefabrykowanych,
– literatura z rozdziału 6.

4.1.4. Sprawdzian postępów

Tak

Nie

Czy potrafisz:
1) określić rodzaje urządzeń lokalnych oczyszczalni ścieków?

…

…

2) określić wymagany dokument rozpoczęcia budowy zbiornika

bezodpływowego? …

…

3) określić częstotliwość opróżniania zbiornika bezopdpływowego?

…

…

4) określić zakres prac ziemnych przy budowie zbiornika

bezodpływowego z tworzywa sztucznego?

…

…

5) określić wyposażenie zbiornika bezodpływowego?

…

…

6) dobrać zbiornik bezodpływowy dla właściciela nieruchomości?

…

…

7) wskazać miejsce lokalizacji zbiornika bezodpływowego na

terenie nieruchomości?

…

…

8) określić pojemność zbiornika bezodpływowego dla

mieszkańców domu w terenie nieuzbrojonym?

…

…

9) określić warunki wykonania szamba z kręgów betonowych?

…

…

10) określić wielkość

osadnika

gnilnego?

…

…

11) wskazać błędy w budowie szamba i osadnika gnilnego?

…

…

12) określić pojemność komór w osadniku gnilnym wielokomorowym? …

…

13) określić warunki wykonania osadnika gnilnego?

…

…

14) określić sposoby połączenia komór w osadniku gnilnym

wielokomorowym? …

…

15) określić warunki prawidłowej pracy dla osadnika gnilnego?

…

…

background image

Projekt współfinansowany ze środków Europejskiego Funduszu Społecznego”

15

4.2. Urządzenia lokalnych oczyszczalni ścieków


4.2.1. Materiał nauczania


Dla małych jednostek osadniczych o luźnej zabudowie coraz częściej wykonywane są

oczyszczalnie indywidualne. Zachodzące w nich procesy wykorzystują system korzeniowy
roślin naczyniowych jako biologicznych absorbentów – pochłaniaczy – zanieczyszczeń
powstających w gospodarstwach domowych. Oczyszczalnie korzeniowe łączą w sobie
sedymentację, filtrowanie i mineralizację zanieczyszczeń organicznych w ściekach.

Drenaż rozsączający

Jest to układ podziemnych drenów wprowadzających ścieki do ziemi w celu biologicznego

ich oczyszczenia w warunkach naturalnych. Stosowany jest do biologicznego oczyszczania
ścieków wstępnie oczyszczonych w osadnikach gnilnych. W gruncie następuje ostateczne
doczyszczenie i rozprowadzenie ścieków.

Procesy oczyszczania ścieków w drenażu zachodzą przy udziale tlenu i zapewniają 95%

zmniejszenie zanieczyszczeń w ściekach zwłaszcza zmniejszenie zawartości mikroorganizmów.

Stosowane mogą być w gruntach o dobrej przepuszczalności wody i nisko położonym

poziomie wody gruntowej.
Drenaż rozsączający stosowany jest jako:
-

drugi stopień oczyszczania ścieków po wcześniejszym ich podczyszczeniu w osadnikach
gnilnych,

-

trzeci stopień oczyszczania ścieków po wcześniejszym ich oczyszczeniu w osadnikach
gnilnych i złożach biologicznych.

Do drenażu rozsączającego ścieki powinny być doprowadzane w taki sposób, aby równomiernie
był obciążany grunt i aby zapewnić okresowe napowietrzanie systemu drenażowego.
Aby można było zastosować drenaż rozsączający powinny być zachowane warunki:
-

ilość ścieków nie powinna przekraczać 25 dm

3

/d (ilość ta powinna być dostosowana do

chłonności gruntu i ustalona przez urząd odpowiedzialny za ochronę środowiska),

-

potrzebna powierzchnia na ułożenie drenów z zachowaniem zalecanych odległości to
60-90 m

2

,

-

grunt powinien być piaszczysty lub gliniasto-piaszczysty,

-

najwyższy poziom wody gruntowej powinien być nie wyżej niż 1,5m poniżej poziomu
drenażu rozsączającego.

Jeżeli grunt jest trudno przepuszczalny lub zbyt łatwo przepuszczalny, trzeba go wymienić na
piasek i dopiero na jego powierzchni ułożyć drenaż rozsączający.

W przypadku, gdy poziom wód gruntowych jest wysoki, powinien być wykonany tzw.

kopiec filtracyjny. Drenaż rozsączający układa się wówczas na nasypie o wysokości
zapewniającej wymaganą odległość od wód gruntowych (czyli co najmniej 1,5 m), przykrywa
się go warstwą ziemi - chroniąc go w ten sposób przed mrozem i wodami opadowymi. Przy
takiej zabudowie drenażu rozsączającego konieczna jest dodatkowo budowa przepompowni
ścieków.

Układany pod powierzchnią terenu drenaż rozsączający jest ciągiem perforowanych rur

(drenów), którymi ścieki wstępnie oczyszczone w osadniku gnilnym są równomiernie
rozprowadzane do gruntu. Gleba działa jak filtr zatrzymując zawiesiny większe od jej
mikroporów. Substancje mineralne i organiczne przekształcają się w rozpuszczalne w wodzie
związki mineralno-organiczne. Zatrzymane zostają też bakterie.

background image

Projekt współfinansowany ze środków Europejskiego Funduszu Społecznego”

16

Rys. 7. Budowa drenażu rozsączającego [12]

Prawidłowa praca drenażu rozsączającego wymaga, aby ścieki doprowadzane były

okresowo i równomiernie do wszystkich drenów. Przy małych przepływach ścieków z uwagi na
ich nierównomierność przepływu, przewody drenażowe są w sposób samoistny płukane
i utrzymywane w czystości. Jeżeli ilość ścieków przekracza 4 m

3

/d - powinny być zastosowane

urządzenia do dawkowania ścieków.

Długość i liczba ciągów drenarskich zależy od ilości ścieków dopływających, czyli od

liczby stałych użytkowników oczyszczalni i warunków gruntowych Długość jednego drenu nie
powinna przekraczać 20 m, a średnica ceramicznej perforowanej rury drenarskiej to 100 mm lub
125 mm.

Tabela 2. Rozstaw ciągów drenarskich i ich spadek w zależności od rodzaju gruntu [źródło własne]

Rodzaj gruntu

Rozstaw między
układanymi
drenami [ m ]

Spadek drenażu

piaszczysty

1,5 – 2,0

2,0 – 2,5 % w kierunku
zgodnym z przepływem
ścieków w drenach

piaszczysto –

gliniasty.

2,5 dreny

układane poziomo


Dreny powinny być układane w rowkach o szerokości od 0,5 m do 0,8 m. Powinny być

obsypane pod spodem warstwą żwiru o grubości 0,1 m. Ponad drenem grubość warstwy
żwirowej powinna wynosić 0,05 m. Dren wraz z obsypką żwirową powinien być przysypany
gruntem rodzimym do poziomu terenu. Minimalne zagłębienie drenu to 0,6 m, a maksymalne to
1,2 m.

Drenaż rozsączający powinien być wykonany z rurek drenarskich ceramicznych ułożonych

na styk, zabezpieczony od góry paskiem z papy smołowej lub geowłókniną, która zabezpiecza
warstwę filtracyjną przed zanieczyszczeniem gruntem rodzimym przykrywającym drenaż.

background image

Projekt współfinansowany ze środków Europejskiego Funduszu Społecznego”

17

Rys. 8. Zasada układania drenażu rozsączającego [4]

1-przykrycie gruntem rodzimym, 2-warstwa izolacyjna, 3-obsypka żwirowa, 4-przewód rozsączający perforowany,

5-zwierciadło wody podziemnej lub poziom warstwy nieprzepuszczalnej

Studzienka rozdzielcza powinna być montowana za osadnikiem gnilnym, a przed układem
drenów. Jej zadaniem jest równomierne rozdzielanie ścieków do poszczególnych ciągów
drenarskich

Na końcach drenów rozsączających w celu przewietrzania warstwy gruntu powinny być

montowane studzienki napowietrzające (wywiewki wentylacyjne) o średnicy 100 mm ustawione
0,5 m ponad powierzchnię terenu. Zapewniają one dopływ tlenu, który jest potrzebny do
prawidłowego przebiegu procesów oczyszczania ścieków. Umożliwiają również kontrolę
poziomu ścieków.

Rys. 9. Układ ciągów drenarskich [12]

background image

Projekt współfinansowany ze środków Europejskiego Funduszu Społecznego”

18

Wybudowanie drenażu rozsączającego wymaga dużej powierzchni działki z uwagi na fakt,

że warunkiem wykonania jest ułożenie drenów w odległości:
- minimum 30 m od lokalnego ujęcia wody (studni),
- 30 m od studni (również na sąsiedniej działce),
- 3 m od budynku,
- 2 m od granicy nieruchomości,
- 3 m od drzew i dużych krzewów.

Nie można zbudować oczyszczalni z drenażem na terenach okresowo zalewanych.
Oczyszczone ścieki mogą być odprowadzane do gruntu, więc nie potrzeba innego

odbiornika ścieków – rzeki, stawu czy rowu melioracyjnego.

Studnie chłonne

Urządzenie stosowane do oczyszczania ścieków w ilości do 5 m

3

/d w gruntach dobrze

przepuszczalnych, gdzie poziom wody gruntowej jest 1,0 m poniżej dna studni.

Studnia chłonna może być wykonana z kręgów betonowych, żelbetowych o średnicy

minimum 1,5 m. lub wybudowana z użyciem cegły. Warstwę filtracyjną o wysokości minimum
0,5 m stanowić może: żwir, żużel, szlaka wielkopiecowa, kamień łamany. Ścieki infiltrowane
są do gruntu przez dno i otwory o średnicy 20 – 30 mm w ścianach, umieszczone na całej
wysokości warstwy filtracyjnej.

Minimalna średnica przewodu dopływowego 150 mm.

Studnia powinna być wyposażona w właz o średnicy 0,6 m i rurę wywiewną o średnicy 100 lub
150 mm.

Rys. 10. Studnia chłonna [6]

1-warstwa filtracyjna, 2-odpływ ścieków do gruntu, 3-warstwa piasku ok. 0,2m, 4-płyta zabezpieczająca piasek

przed rozmyciem, 5-dopływ ścieków, 6-pokrywa, 7-rura wywiewna, 8-ściana z kręgów betonowych, 9-otwory dla

odpływu ścieków przez ściany boczne

background image

Projekt współfinansowany ze środków Europejskiego Funduszu Społecznego”

19

Rys. 11. Studnia chłonna odprowadzająca do gruntu ścieki biologicznie oczyszczone [4]

1-dopływ ścieków biologicznie oczyszczonych, 2-płyta betonowa zabezpieczająca piasek przed rozmyciem, 3-

piasek, 4-wypełnienie złoża, 5-grunt rodzimy, 6-uszczelnienie z gliny, 7-grunt rodzimy, 8-rura wywiewna, 9-właz,

10-zwierciadło wód gruntowych

Filtry piaskowe

Filtry piaskowe stosowane są do biologicznego oczyszczania w warunkach naturalnych

ścieków bytowo – gospodarczych lub ścieków przemysłowych o właściwościach zbliżonych
do ścieków z gospodarstwa domowego. Wykonuje się je wówczas gdy grunt jest o małej
przepuszczalności np. glina, iły lub gdy występuje wysoki poziom wód gruntowych.
Filtry piaskowe (mineralne) zbudowane są z:
-

kilku lub kilkunastu drenów rozprowadzających ścieki do złoża filtracyjnego,

-

piaskowego złoża filtracyjnego,

-

drenów zbiorczych ułożonych pod złożem filtracyjnym.

Rys. 12. Filtr piaskowy [1]





background image

Projekt współfinansowany ze środków Europejskiego Funduszu Społecznego”

20

Do wykonywania filtrów piaskowych konieczne jest spełnienie następujacych warunków:
- najwyższy poziom wody gruntowej powinien znajdować się nie wyżej niż 1 m pod

poziomem drenów zbiorczych,

- złoże filtracyjne powinno być oddzielone od otaczającego gruntu szczelną folią lub tłustą

gliną,

- długość jednego drenu nie powinna przekraczać 30 m,
- średnica drenów nie powinna być mniejsza niż 100 mm,
- minimalny rozstaw drenów rozsączających i zbiorczych powinien wynosić

1 m,

- dreny zbiorcze powinny być układane 0,6 m poniżej poziomu ułożenia drenów

rozsączających,

- pomiędzy drenami powinno znajdować się złoże filtracyjne o grubości 0,6 m, szerokości nie

mniejszej niż 0,5 m i długości równej długości drenu,

- jeżeli długość drenów rozsączających lub zbiorczych nie przekracza 30 m to możliwe jest

zbudowanie filtrów piaskowych z jednym drenem rozsączającym i jednym drenem
zbiorczym,

- dreny rozsączające i zbiorcze powinny być układane w rowkach o głębokości 1,2 – 1,5 m

i szerokości 0,5 m,

- dren zbiorczy powinien być układany na dnie rowu ze spadkiem 2,0 – 2,5 % i obsypany

złożem filtracyjnym o wysokości 0,6 m i uziarnieniu od 0,5 do 8,0 mm,

- dren rozsączający powinien być układany na górnej powierzchni złoża filtracyjnego ze

spadkiem 2,0 – 2,5 % i obsypany warstwą żwiru o wysokości 0,3 m. Powinien być przykryty
geowłókniną. Pozostała część rowu powinna być wypełniona gruntem rodzimym

i wyrównana do poziomu powierzchni terenu,

- na końcach drenów rozsączających i zbiorczych w celu przewietrzania warstwy gruntu

powinny być umieszczone wywiewki wentylacyjne o średnicy 100 mm ustawione 0,5 m nad
powierzchnią terenu.

Ścieki po osadniku gnilnym przepływają do drenażu rozsączającego, dalej przechodzą przez

filtr piaskowy i odprowadzane są drenażem zbierającym do odbiornika.

Filtry gruntowo - korzeniowe

Filtry gruntowo – korzeniowe z roślinnością bagienną są zbiornikami ziemnymi. Wyłożone

są folią, wypełnione materiałem filtracyjnym i rosnącą na jej powierzchni roślinnością wśród
której dominuje trzcina pospolita i wierzba.

System korzeniowy roślin udrażnia złoże powodując zachodzenie procesów biologicznego

rozkładu ścieków bytowo-gospodarczych wcześniej podczyszczonych w osadniku. Przepływ
ścieków w złożu może być pionowy lub poziomy. Efektywna powierzchnia złoża to 5-10 m

2

na

jednego użytkownika.

background image

Projekt współfinansowany ze środków Europejskiego Funduszu Społecznego”

21

Rys. 13. Filtr gruntowo roślinny o poziomym przepływie ścieków [6]

1-wlot, 2-osadnik, 3-wypełnienie z tłucznia, 4-trzcina, 5-drenaż, 6-studzienka kontrolna, 7-wylot, 8-folia

uszczelniająca, 9-warstwa filtracyjna piaskowa o grubości 0,6-1,0 m i szerokości 30 m


Złoże hydroponiczne
stosuje się, gdy ograniczenie powierzchni nie pozwala na

zastosowanie drenażu rozsączającego, a także na działkach z wysokim poziomem wód
gruntowych. Ścieki są wstępnie podczyszczane w wielofunkcyjnym osadniku gnilnym,
a następnie są rozdeszczowywane na powierzchni złoża hydroponicznego z roślinnością wodną.
Dopływają do reaktora biologicznego i tam wielokrotnie przepływają przez roślinne złoże
tlenowe i beztlenowe złoże zanurzone. Przepływ jest wymuszony pracującą okresowo pompą.

Rys. 14. Schemat złoża hydroponicznego [6]

1-osadnik wstępny, 2-reaktor biologiczny, 3-studnia chłonna, 4-złoże zanurzone, 5-pompa zraszająca złoże

hydroponiczne, 6- złoże hydroponiczne z przezroczystą kopułą, 7-włazy kontrolne, 8-dren rozsączający

oczyszczone ścieki

System korzeniowy jest siedliskiem bakterii tlenowych i beztlenowych, które biorą udział
w procesie oczyszczania ścieków. Potem trafiają one do odbiornika wodnego lub gruntowego.
Mogą być również odprowadzone np. do oczka wodnego. Oczyszczalnię można obudować

background image

Projekt współfinansowany ze środków Europejskiego Funduszu Społecznego”

22

skalniakiem. Złoże hydroponiczne w oczyszczalni trzeba co kilka lat odmładzać, czyli obsiewać
nową roślinnością.

Rys. 15. Przykład obudowanego złoża hydroponicznego [12]


Urządzenia osadu czynnego

Osad czynny tworzą organizmy roślinne i zwierzęce: bakterie, glony, pierwotniaki, grzyby,

drożdże, pleśnie, stawonogi.

Rys. 16. Przykład organizmu osadu czynnego [12]

Organizmy roślinne i zwierzęce tworzą kłaczki osadu unoszące się w komorze osadu

czynnego. Do komory osadu doprowadzane jest powietrze celem utrzymania warunków
tlenowych właściwych dla biologicznego oczyszczania ścieków. Wskutek zachodzących
procesów życiowych w sprzyjających warunkach, następuje rozmnażanie organizmów przy
jednoczesnym obumieraniu. Czas zatrzymania ścieków w komorze napowietrzania to od 4 do 16
godzin. Dalej ścieki przepływają do osadnika wtórnego, w którym zachodzi sedymentacja i
recyrkulacja osadu czynnego.
Po zakończonym procesie oczyszczania ścieki mogą być odprowadzone bezpośrednio
do odbiornika.

background image

Projekt współfinansowany ze środków Europejskiego Funduszu Społecznego”

23

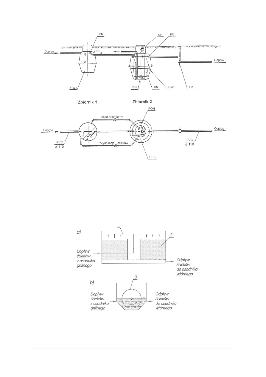
Rys. 17. Oczyszczalnia ścieków z osadem czynnym [1]

OWs- osadnik wstępny, PR- pływak retencyjny, SP- sprężarka powietrza, KO- koryto odpływowe, DN- dyfuzor

napowietrzający, KN- komora napowietrzania, Owt- osadnik wtórny, SK- studzienka kontrolna, PON- pompa

do usuwania osadu nadmiernrgo, PRS- pompa do recyrkulacji ścieków


Złoża biologiczne
Złoża biologiczne mogą być wykonywane jako:

-

zraszane ( spłukiwane ),

-

tarczowe (zanurzone ).


Rys. 18. Schematy złóż biologicznych [4]

a-złoże zraszane, b-złoże zanurzane(tarczowe); 1-rozprowadzenie ścieków, 2-wypełnienie złoża, 3-tarcza złoża


W złożach biologicznych ścieki są równomiernie rozprowadzane na całej powierzchni złoża

i przepływają z góry ku dołowi przez wypełnienie złoża. Wypełnieniem mogą być:

1

background image

Projekt współfinansowany ze środków Europejskiego Funduszu Społecznego”

24

- materiały naturalne: torf, żwiry, skały wulkaniczne (pumeks bazaltowy), keramzyt,
- materiały ceramiczne,
- pierścienie różnych kształtów i postaci z tworzyw sztucznych,
- siatki polietylenowe,
- pakiety (bloki) tworzywowe.

Rys. 19. Wypełnienie złoża biologicznego – pierścienie z tworzyw sztucznych [12]

Rys. 20. Wypełnienie złoża biologicznego - pakiet z tworzywa sztucznego [4]


Wypełnienie powinno się charakteryzować:
-

dużą powierzchnią aktywną,

-

znaczną wytrzymałością mechaniczną,

-

odpornością na działanie chemiczne ścieków,

-

odpornością na oddziaływanie mikroorganizmów obecnych w złożu.


Na ściankach wypełnienia osadzają się mikroorganizmy które biorą udział w tlenowym procesie
rozkładu zanieczyszczeń. W wyniku tych procesów następuje możliwość swobodnego rozwoju
i narastania błony biologicznej. Ścieki muszą przepływać przez złoże z właściwą prędkością.
Przy osiągnięciu określonej grubości - samoistnie następuje oderwanie błony biologicznej
i zostaje ona zatrzymana w osadniku wtórnym. Aby procesy biologicznego rozkładu zachodziły
w warunkach tlenowych, w złożach biologicznych zanurzonych powinno być od dołu
doprowadzane powietrze.

Złoże zraszane to kolumna materiału wypełniającego umieszczona w odpowiednim

zbiorniku. Przez środek kolumny prowadzona jest rura z tworzywa sztucznego np. PVC
zakończona zraszaczem pracującym okresowo. Podaje on w określonym cyklu pracy porcję
ścieków, które równomiernie rozprowadzane są na powierzchni złoża. Ścieki spływając w dół
poddawane są procesom rozkładu. Odbierane sa następnie na dole kolumny i odprowadzane do
wylotu. Złoże zraszane musi. być napowietrzane, aby zapewnić rozwój właściwych gatunków
bakterii.
Z tego samego powodu ze złoża trzeba odprowadzić gazy, będące produktem przemian
bakteryjnych.


background image

Projekt współfinansowany ze środków Europejskiego Funduszu Społecznego”

25

Rys. 21. Zraszanie złoża [12]


Złoże zanurzone składa się ze specjalnych włókien z żywic poliestrowych, na których

znajduje się błona biologiczna neutralizująca ścieki. Włókna poliestrowe znajdują się na
specjalnych ramach z tworzywa sztucznego. Ścieki muszą płynąć na tyle wolno, by każda porcja
przez odpowiedni czas kontaktowała się z błoną biologiczną; ścieki nie mogą stać w zbiorniku,
by nie nastąpiło zatkanie wlotu.

Złoże powinno być napowietrzane pęcherzykami powietrza od dołu.

Zbiornik, w którym umieszczone jest złoże zanurzone wykonany jest z polietylenu wysokiej
gęstości (HDPE).

Kontenerowe oczyszczalnie ścieków

Przy wysokim poziomie wód gruntowych i w przypadku, gdy procesu doczyszczania

ścieków bytowo-gospodarczych nie można prowadzić w gruncie a wymagany jest wysoki
stopień oczyszczenia ścieków celowym rozwiązaniem jest zastosowanie kontenerowego
oczyszczania ścieków.

Rys. 22. Oczyszczalnia kontenerowa dla ścieków bytowo – gospodarczych typu BIOCLER [12]


background image

Projekt współfinansowany ze środków Europejskiego Funduszu Społecznego”

26

Zblokowane oczyszczalnie ścieków to obiekty, w których w wyniku rozwiązań

konstrukcyjnych w jednym zbiorniku zamontowane zostały urządzenia wstępnego oczyszczania
ścieków z zanieczyszczeń mechanicznych, komory osadu czynnego i osadnika wtórnego, albo
złoża biologicznego.

Zblokowane oczyszczalnie ścieków biologicznie oczyszczają ścieki metodą osadu czynnego

z długotrwałym ich napowietrzaniem. Po przejściu przez komorę osadu czynnego ścieki wraz
z wyniesionym osadem czynnym są poddawane sedymentacji w osadniku wtórnym o długim
czasie zatrzymania. Kontener jest w formie zbiornika stalowego, w którym zespolone mogą być
różne rozwiązania technologiczne, na przykład:
-

komora osadu czynnego z osadnikiem wtórnym, komorą tlenowej stabilizacji osadu

nadmiernego i komorą kontaktową ścieków oczyszczonych z chlorem,

-

cedzenie, napowietrzanie ścieków z osadem czynnym, sedymentacja, dezynfekcja

i stabilizacja nadmiernego osadu czynnego.

Rys. 23. Schemat oczyszczalni ścieków z typoszeregu BOS [4]

1-krata, 2-komora osadu czynnego, 3-osadnik wtórny, 4-komora kontaktowa, 5-komora stabilizacji, 6-rura

centralna, 7-podnośnik powietrzny do recyrkulacji osadu, 8-ruszt napowietrzający, 9-podnośnik powietrzny do

kożucha i cieczy nadosadowej, 10-chlorator, 11-ociekacz skratek, 12-ruszt napowietrzający do stabilizacji osadu


Rozwiązaniem innego typu kontenerowej oczyszczalni ścieków jest zastosowanie

do biologicznego oczyszczania ścieków, tarczowych złóż biologicznych. W kontenerze
zespolona jest komora złoża tarczowego z komorą fermentacji osadu i osadnikiem wtórnym.


background image

Projekt współfinansowany ze środków Europejskiego Funduszu Społecznego”

27

4.2.2. Pytania sprawdzające


Odpowiadając pytania, sprawdzisz, czy jesteś przygotowany do zaplanowania przebiegu ćwiczeń
i ich wykonania.
1. Jakie warunki powinny być zachowane dla wykonania drenażu rozsączającego?
2. Którym stopniem oczyszczania ścieków jest drenaż rozsączający?
3. Jak wykonać drenaż rozsączający w terenie o wysokim poziomie wód gruntowych?
4. Z jakich materiałów wykonuje się ciągi drenarskie?
5. Jak łączy się rury drenarskie?
6. W jaki sposób powinny być doprowadzane ścieki do drenażu rozsączającego?
7. W jaki sposób układane są rury drenarskie?
8. Jakimi sposobami zabezpiecza się rury drenarskie?
9. W jaki sposób przewietrza się warstwy gruntu?
10. Kiedy nie można wybudować drenażu rozsączającego?
11. Kiedy stosuje się studnie chłonne do oczyszczania ścieków?
12. Jaka jest konstrukcja studni chłonnej?
13. Jakiego rodzaju ścieki można oczyszczać w złożu hydroponicznym?
14. Jaka jest budowa złoża hydroponicznego?
15. Jakimi właściwościami powinno charakteryzować się wypełnienie złoża biologicznego?
16. Jak zbudowane jest złoże zraszane?
17. Jak zbudowane jest złoże tarczowe?
18. Kiedy powstaje błona biologiczna na wypełnieniu złoża?
19. Co to jest osad czynny?
20. Kiedy stosuje się kontenerowe oczyszczalnie ścieków?

4.2.3. Ćwiczenia


Ćwiczenie 1

Wykonaj zestawienie materiałowe niezbędne do wykonania fragmentu ciągu drenażu

rozsączającego przedstawionego w dokumentacji będącej częścią instrukcji.

Sposób wykonania ćwiczenia

Aby wykonać ćwiczenie powinieneś:

1) zapoznać się z instrukcją wykonania ćwiczenia,
2) zapoznać się z dokumentacją ćwiczenia,
3) zorganizować stanowisko pracy do wykonania ćwiczenia,
4) zastosować się do poleceń zawartych w instrukcji,
5) dokonać analizy rozwiązania wykonanego ćwiczenia,
6) zaprezentować wykonane ćwiczenie,
7) dokonać oceny poprawności i estetyki wykonanego ćwiczenia.

Wyposażenie stanowiska pracy:

– instrukcja wykonania ćwiczenia,
– blok techniczny formatu A4,
– dokumentacja projektowa fragmentu instalacji,
– arkusze do pisania,
– gumka,
– przybory do pisania,

background image

Projekt współfinansowany ze środków Europejskiego Funduszu Społecznego”

28

– literatura z rozdziału 6.

Ćwiczenie 2

Wykonaj połączenie wraz z uszczelnieniem dwóch odcinków rur ceramicznych średnicy

100 mm stosowanych do drenażu rozsączającego. Zaplanuj kolejne etapy montażu drenażu
rozsączającego w gruncie. Określ warunki wykonania.

Sposób wykonania ćwiczenia

Aby wykonać ćwiczenie powinieneś:

1) zorganizować stanowisko pracy do wykonania ćwiczenia,
2) zapoznać się z dokumentacją zadania i instrukcją wykonania ćwiczenia,
3) dobrać rury do wykonania połączenia,
4) dobrać materiały uszczelniające,
5) oczyścić powierzchnię końcówek rur,
6) dopasować poszczególne elementy tworzące układ ciągu drenarskiego,
7) połączyć rury w fragment drenażu,
8) zlikwidować stanowisko pracy,
9) zagospodarować odpady,
10) zaplanować kolejne etapy montażu drenażu w gruncie,
11) zapisać warunki wykonania drenażu,
12) zaprezentować efekty swojej pracy,
13) dokonać oceny ćwiczenia.

Wyposażenie stanowiska pracy:

– stół montażowy z dostępem do oświetlenia,
– 2 odcinki rury ceramicznej drenarskiej średnicy 100 mm,
– materiały do czyszczenia -do wyboru: papier ścierny drobnoziarnisty, wełna stalowa, włókno

tworzywowe, wilgotna ściereczka,

– materiały uszczelniające do wyboru: geowłóknina, papa smołowana, taśma uszczelniająca,
– instrukcja wykonania ćwiczenia zawierająca dokumentację zadania,
– arkusz papieru,
– długopis,
– literatura z rozdziału 6.

Ćwiczenie 3

Sporządź wykaz czynności, materiałów, sprzętu i narzędzi oraz środków ochrony osobistej

dla wykonania studni chłonnej w gruncie piaszczystym. Podaj skład ekipy do wykonania
zadania.


Sposób wykonania ćwiczenia

Aby wykonać ćwiczenie powinieneś:

1) zapoznać się z instrukcją wykonania ćwiczenia,
2) zapoznać się z dokumentacją techniczną zadania,
3) zapoznać się z wytycznymi wykonania studni chłonnych,
4) zorganizować stanowisko pracy do wykonania ćwiczenia,
5) na arkuszu papieru wykonać niezbędne zestawienia i wykazy,
6) podać skład ekipy,
7) zaprezentować wykonane ćwiczenie,

background image

Projekt współfinansowany ze środków Europejskiego Funduszu Społecznego”

29

8) dokonać oceny ćwiczenia.

Wyposażenie stanowiska pracy:

– arkusz papieru,
– długopis,
– ołówek,
– gumka,
– instrukcja wykonania ćwiczenia zawierająca dokumentację zadania,
– katalogi studni chłonnych,
– katalogi wypełnienia warstwy filtracyjnej,
– literatura z rozdziału 6.

Ćwiczenie 4

Sporządź wykaz czynności, materiałów, sprzętu i narzędzi oraz środków ochrony osobistej

dla wykonania kontenerowej oczyszczalni ścieków odprowadzanych do odbiornika wody
II klasy czystości, zgodnie z dokumentacją zamieszczoną w instrukcji. Podaj skład ekipy
do wykonania zadania.


Sposób wykonania ćwiczenia

Aby wykonać ćwiczenie powinieneś:

1) zapoznać się z instrukcją wykonania ćwiczenia,
2) zapoznać się z dokumentacją techniczną zadania,
3) zapoznać się z wytycznymi wykonywania kontenerowych oczyszczalni ścieków,
4) zapoznać się z wytycznymi obowiązującymi w zakresie wymagań dla ścieków

odprowadzanych do różnych odbiorników wodnych różnych klas czystości,

5) zorganizować stanowisko pracy do wykonania ćwiczenia,
6) na arkuszu papieru wykonać niezbędne zestawienia i wykazy,
7) podać skład ekipy,
8) zaprezentować wykonane ćwiczenie,
9) dokonać oceny ćwiczenia.

Wyposażenie stanowiska pracy:

– arkusz papieru,
– długopis,
– ołówek,
– gumka,
– instrukcja wykonania ćwiczenia zawierająca dokumentację zadania,
– katalogi kontenerowych oczyszczalni ścieków,
– wytyczne i normy w zakresie wymagań dla ścieków wprowadzanych do odbiorników

wodnych różnej klasy czystości

– literatura z rozdziału 6.


Ćwiczenie 5

Sporządź wykaz czynności, materiałów, sprzętu i narzędzi oraz środków ochrony osobistej

dla wykonania złoża hydroponicznego do oczyszczania ścieków zgodnie z dokumentacją
zamieszczoną w instrukcji. Podaj skład ekipy do wykonania zadania.


Sposób wykonania ćwiczenia

background image

Projekt współfinansowany ze środków Europejskiego Funduszu Społecznego”

30

Aby wykonać ćwiczenie powinieneś:

1) zapoznać się z instrukcją wykonania ćwiczenia,
2) zapoznać się z dokumentacją techniczną zadania,
3) zapoznać się z wytycznymi wykonania złóż hydroponicznych,
4) zorganizować stanowisko pracy do wykonania ćwiczenia,
5) na arkuszu papieru wykonać niezbędne zestawienia i wykazy,
6) podać skład ekipy,
7) zaprezentować wykonane ćwiczenie,
8) dokonać oceny ćwiczenia.

Wyposażenie stanowiska pracy:

– arkusz papieru,
– długopis,
– ołówek,
– gumka,
– instrukcja wykonania ćwiczenia zawierająca dokumentację zadania,
– wymagania w zakresie wykonawstwa złóż hydroponicznych,
– katalogi i warunki dla roślinności wodnej stosowanej w złożu,
– literatura z rozdziału 6.


Ćwiczenie 6

Sporządź wykaz czynności, materiałów, sprzętu i narzędzi oraz środków ochrony osobistej

dla wykonania zbiornika ze złożem zawieszonym napowietrzanym do oczyszczania ścieków
bytowo-gospodarczych, zgodnie z dokumentacją zamieszczoną w instrukcji. Podaj skład ekipy
do wykonania zadania.


Sposób wykonania ćwiczenia

Aby wykonać ćwiczenie powinieneś:

1) zapoznać się z instrukcją wykonania ćwiczenia,
2) zapoznać się z dokumentacją techniczną zadania,
3) zapoznać się z wytycznymi montażu zbiorników ze złożem zawieszonym napowietrzanym,
4) zorganizować stanowisko pracy do wykonania ćwiczenia,
5) na arkuszu papieru wykonać niezbędne zestawienia i wykazy,
6) podać skład ekipy,
7) zaprezentować wykonane ćwiczenie,
8) dokonać oceny ćwiczenia.

Wyposażenie stanowiska pracy:

– arkusz papieru,
– długopis,
– ołówek,
– gumka,
– instrukcja wykonania ćwiczenia zawierająca dokumentację zadania,
– wymagania w zakresie montażu zbiorników ze złożem zawieszonym napowietrzanym,
– katalogi i warunki dla wypełnienia złoża zawieszonego,
– literatura z rozdziału 6.

background image

Projekt współfinansowany ze środków Europejskiego Funduszu Społecznego”

31

4.2.4. Sprawdzian postępów

Tak Nie

Czy potrafisz:
1) zorganizować stanowisko pracy do wykonania ćwiczeń? … …
2) określić sposób oczyszczania ścieków w drenażu rozsączajacym?

… …

3) określić warunki wykonania drenażu rozsączajacego?

… …

4) określić rodzaj gruntu w którym może być wykonany drenaż rozsączający? … …
5) określić czynności przy przygotowaniu podłoża dla wykonania drenażu

rozsączajacego, gdy jest wysoki poziom wód gruntowych?

… …

6) dobrać materiał na wykonanie drenażu rozsączajacego? … …
7) określić sposób doprowadzania ścieków do drenażu rozsączajacego?

… …

8) określić spadek ciągów drenarskich?

… …

9) określić długość jednego ciągu

drenarskiego?

… …

10) określić zagłębienie

rur

drenarskich?

… …

11) wykonać połączenie

rur

drenarskich?

… …

12) wykonać zabezpieczenie rur rozprowadzających w drenażu rozsączającym? … …
13) określić sposób rozdziału ścieków na ciągi

drenarskie?

… …

14) wyznaczyć dla ułożenia drenażu minimalną odległość od budynku?

… …

15) określić sposoby odprowadzania oczyszczonych ścieków ze studni chłonnej? … …
16) określić warunki prawidłowej pracy złoża hydroponicznego?

… …

17) określić rodzaje złóż

biologicznych?

… …

18) dobrać wypełnienie złoża

zraszanego?

… …

19) dobrać przepływ ścieków dla złoża

tarczowego? … …

20) określić rodzaje ścieków oczyszczanych przez osad czynny?

… …

21) określić zastosowanie kontenerowych oczyszczalni ścieków?

… …

background image

Projekt współfinansowany ze środków Europejskiego Funduszu Społecznego”

32

4.3. Instalacje technologiczne lokalnych oczyszczalni ścieków

4.3.1. Materiał nauczania


Wybór systemu oczyszczania ścieków zależy od:
1) ilości powstających ścieków,
2) sposobu użytkowania budynku,
3) wymaganego stopnia oczyszczania ścieków zależnego od:

a)

odbiornika ścieków,

b)

warunków gruntowo-wodnych,

c)

wielkości działki.

Budowa lokalnych oczyszczalni ścieków
Lokalne oczyszczalnie ścieków, w których zachodzi oczyszczanie ścieków powstających
w gospodarstwie domowym sprowadza się do zainstalowania na terenie nieruchomości
przydomowej oczyszczalni ścieków najczęściej pracującej bezobsługowo.

W przydomowej oczyszczalni ścieków procesy oczyszczania zachodzą dwuetapowo:

− w pierwszym podczyszczanie beztlenowe,

− w drugim doczyszczanie tlenowe.
Pierwszy etap ma miejsce w osadniku gnilnym, separatorze tłuszczu i polega na dekantacji
(oddzielenie ciał stałych od cieczy) ścieków i fermentacji osadu z udziałem bakterii
beztlenowych. Następuje tutaj usuwanie ze ścieków zanieczyszczeń łatwoopadających
(o gęstości większej od ścieków) i flotujących (o gęstości mniejszej od ścieków).

Drugi etap to biologiczne doczyszczanie ścieków. Zachodzi najczęściej w drenażu

rozsączającym.
Może zachodzić również w:

filtrach paskowych, złożu biologicznym z recyrkulacją ścieków,

komorze osadu czynnego z osadnikiem wtórnym,

oczyszczalni hydrobotanicznej z przepływem powierzchniowym lub
podpowierzchniowym.

Proces oczyszczania biologicznego polega na tym, że podczyszczone ścieki przepływają przez
warstwy filtracyjne żwiru, piasku i są rozkładane w procesie biologicznego utleniania, w którym
biorą udział mikroorganizmy. Konstrukcja urządzeń powinna zapewnić warunki do tlenowego
oczyszczania ścieków wypływających z osadnika.

W przydomowej oczyszczalni ścieków osadnik gnilny pełni rolę wstępnego oczyszczania

ścieków.
W osadniku tym zachodzą procesy technologiczne:
-

flotacja zanieczyszczeń o gęstości mniejszej niż gęstość ścieków,

-

sedymentacja zanieczyszczeń łatwo opadających,

-

stabilizacja beztlenowa osadów ściekowych.

Zgodnie z prawem - osadnik można lokalizować dowolnie blisko domu (zalecane jest
ze względów technicznych, aby odległość ta nie przekraczała 6 m), pod warunkiem
wyprowadzenia ich odpowietrzenia przez instalację kanalizacyjną co najmniej 0,6 m powyżej
górnej krawędzi okien i drzwi zewnętrznych w tym budynku.
W innym przypadku minimalna odległość wynosi 3 m.

Minimalne odległości od innych obiektów określone są przez Rozporządzenie Ministra

Infrastruktury z dnia 12 kwietnia 2002 w sprawie warunków technicznych, jakim powinny
odpowiadać budynki i ich usytuowanie (wartości jak do zbiorników bezodpływowych):
odległość od granicy działki (ogrodzenia) wynosi 2 m, od studni - 15 m.

background image

Projekt współfinansowany ze środków Europejskiego Funduszu Społecznego”

33

Rys. 24. Przydomowa oczyszczalnia ścieków [3]

1-ścieki bytowo-gospodarcze, 2-tłuszczownik, 3-ścieki fekalne, 4-zbiornik oczyszczania biologicznego(osadnik

gnilny), 5-studzienka rozdzielcza, 6-studzienka zamykająco-wentylacyjna, 7-wywiewka wentylacyjna, 8-studzienka

wód opadowych




Tabela 3.
Minimalne wymagane odległości urządzeń przydomowych oczyszczalni ścieków na terenach

zabudowy jednorodzinnej i zagrodowej [1]

Minimalne odległości [ m ]

Zbiorniki na nieczystości ciekłe

Element

przestrzennego

zagospodarowania

działki

o pojemności

do 10 m

3

o pojemności

od 10 m

3

do 50 m

3

Drenaż

rozsączający

Studnia 15

15

30

Okna i drzwi do
pomieszczeń
przeznaczonych na
pobyt ludzi

5 30 5

Granica działki 2 7,5 2
Droga, ulica

2

10

2

Najwyższy poziom
wód gruntowych

- -

1,5

background image

Projekt współfinansowany ze środków Europejskiego Funduszu Społecznego”

34

Dobór osadnika

Osadnik powinien spełniać normę PN-EN 12566-1:2004 „Małe oczyszczalnie ścieków dla

obliczeniowej liczby mieszkańców (OLM) do 50 - Część 1: Prefabrykowane osadniki gnilne”
oraz mieć aprobatę techniczną.

Osadnik dobiera się według. objętości. Rzeczywista objętość zbiornika mieści w sobie dwa

składniki:
- objętość czynną (suma objętości ścieków przepływających przez zbiornik; objętości osadu

na dnie i objętości kożucha na powierzchni cieczy),

- oraz objętość powietrzną (między powierzchnią cieczy a sklepieniem zbiornika).

Osadnik należy dobrać, przyjmując dwa podstawowe założenia:
-

każdy mieszkaniec produkuje 0,15 m

3

czyli 150 dm

3

ścieków na dobę,

-

ścieki powinny przebywać w osadniku co najmniej 2 - 3 dni.

Montaż osadnika prefabrykowanego powinien być przeprowadzany w sposób następujący:
- posadowienie osadnika na 10 - 15 cm podsypce z piasku lub drobnego żwiru,
- poziomowanie osadnika wzdłuż osi - odległość między osiami wlotu i wylotu powinna

odpowiadać odległości wskazanej przez producenta,

- napełnienie komór osadnika wodą do 2/3 objętości,
- montaż czyszczaka na dopływie do osadnika i rury odprowadzającej - jeśli jest to konieczne,
- przedłużenie kominków inspekcyjnych,
- obsypanie zbiornika piaskiem z cementem,
- stopniowe utwardzenie gruntu,
- wykonanie i wykończenie studzienek rewizyjnych.
Osadnik zaleca się posadowić tak, by warstwa przykrywającej go ziemi nie była grubsza niż
80 cm.

Rys. 25. Osadnik trzykomorowy podczas montażu przydomowej oczyszczalni ścieków [4]

Rys. 26. Opaska betonowa osadnika gnilnego [1]

background image

Projekt współfinansowany ze środków Europejskiego Funduszu Społecznego”

35

W osadniku gnilnym występują drobnoustroje przyspieszające rozkład części organicznych

zanieczyszczeń dopływających razem ze ściekami. Aby w osadniku były stworzone właściwe
warunki pracy powinny być zastosowane biopreparaty, w których wykorzystywane są:
-

bakterie – powodują tlenowy rozkład substancji organicznych,

-

enzymy – rozkładają tłuszcze,

-

środki powierzchniowo-czynne – zmniejszają przyczepność osadu do ścianek zbiornika,
przewodów kanalizacyjnych,

-

pożywka (związki organiczne i mineralne) – przyspieszają procesy unieszkodliwiania
związków organicznych.

Zastosowanie biopreparatów:
-

przyspieszają naturalny rozkład zanieczyszczeń,

-

likwidują powstawanie uciążliwych zapachów,

-

zapobiegają wytrącaniu się zbyt dużej ilości osadu na dnie zbiornika,

-

poprawiają jakość oczyszczanych ścieków co korzystnie wpływa na ich doczyszczenie
w drenażu rozsączającym,

-

poprawiają drożność przykanalika.

Rys. 27. Przydomowa oczyszczalnia ścieków z drenażem rozsączającym [1]

W celu wykonania przydomowej oczyszczalni ścieków z gotowych elementów

prefabrykowanych (osadnik gnilny wielokomorowy, studnia rozdzielcza) należy:
1) zapoznać się z projektem oczyszczalni ścieków,
2) na terenie nieruchomości wytyczyć miejsce zainstalowania osadnika gnilnego, studzienki

rozdzielającej ścieki na drenaż rozsączający,

3) przygotować wykop pod przykanalik,
4) wykonać wykop (ręcznie lub z użyciem sprzętu mechanicznego) pod zbiornik gnilny,

studzienkę rozprowadzającą ścieki, ciągi drenarskie,

5) oczyścić wykop pod zbiornik osadnika z korzeni, kamieni, innych elementów mogących

uszkodzić zbiornik,

6) w przypadku gruntu piaszczysto – gliniastego przygotować na dnie wykopu podsypkę

z piasku o grubości ok.19 cm pod zbiornik,

7) opuścić do wykopu na linach zbiornik osadnika (czynność powinna być wykonana bardzo

starannie z uwagi na ewentualne uszkodzenie zbiornika),

background image

Projekt współfinansowany ze środków Europejskiego Funduszu Społecznego”

36

8) wypoziomować zbiornik (wlot i wylot ze zbiornika przy poziomym jego ustawieniu

gwarantuje grawitacyjny przepływ ścieków przez osadnik),

9) jeśli zbiornik osadzany jest w gruntach gliniastych albo istnieje obawa podwyższenia

poziomu wód gruntowych - powinna być wykonana opaska betonowa stabilizująca zbiornik,

10) połączyć przykanalik w wlotem osadnika gnilnego,
11) napełnić zbiornik wodą,
12) zasypać osadnik gnilny po obu jego stronach piaskiem na grubość ok. 20 cm aby utrzymać

stabilizację urządzenia,

13) zasypywać osadnik równomiernie warstwami grubości ok. 20 cm gruntem rodzimym, które

należy każdorazowo zagęszczać,

14) w czasie zasypywania kontrolować stan napełnienia zbiornika wodą – powinien być on

wyższy od poziomu warstwy obsypującej zbiornik,

15) zamontować włazy przykrywające osadnik,
16) osadzić studzienkę rozdzielczą drenażu rozsączającego w gruncie,
17) połączyć odpływ ścieków z osadnika ze studzienką rozdzielczą drenażu rozsączającego,
18) ułożyć ciągi drenażu zgodnie z wytycznymi,
19) zamontować uzbrojenie zbiornika zgodnie z dokumentacją techniczno – ruchową (DTR)

w tym elementy wentylacyjne

20) połączyć wentylację osadnika z instalacją kanalizacyjną budynku i wyprowadzić ponad

poziom połaci dachowej,

21) wykonać kominek wentylacyjny ciągu drenażowego,
22) sprawdzić przepustowość elementów przydomowej oczyszczalni ścieków,
23) zasypać warstwą gruntu studzienkę rozdzielczą i drenaż rozsączający,
24) odtworzyć nawierzchnię na terenie nieruchomości.


Podczas układania ciągów drenażu rozsączającego powinny być zachowane następujace

wymagania:

1) maksymalna długość jednego ciągu drenarskiego – 20 m
2) minimalna odległość między ciągami – 1,5 m,
3) najwyższy poziom wód gruntowych 1,5 m poniżej poziomu przewodów drenażu,
4) wysokość warstwy rozsączającej:
a) 25 cm dla gruntu przepuszczalnego;
b) 30 – 60 cm dla gruntu słabo przepuszczalnego,
5) wypełnienie warstwy rozsączającej – żwir o granulacji 16-32 mm,
6) szerokość dna wykopu ciągu drenarskiego – 0,5 m,
7) spadek drenów – 0,5 % - 2,5%,
8) ciągi drenarskie przykryte od góry geowłókniną,
9) końce ciągów drenarskich połączone ze sobą i zakończone kominkami wentylacyjnymi

wyprowadzonymi ponad powierzchnię terenu na wysokość 0,5 m.

background image

Projekt współfinansowany ze środków Europejskiego Funduszu Społecznego”

37

Rys. 28. Etapy układania drenażu rozsączającego [12]




Rys. 29. Przydomowa oczyszczalnia ścieków z drenażem rozsączającym [12]

background image

Projekt współfinansowany ze środków Europejskiego Funduszu Społecznego”

38

Rys. 30. Schemat instalacji z drenażem rozsączającym [1]

a-grawitacyjny układ rozsączania ścieków oczyszczonych do gruntu, b- układ rozsączania z przepompownią

ścieków w przypadku podwyższonego poziomu wód gruntowych



Rys. 31. Domowa oczyszczalnia ścieków [5]


Eksploatacja i obsługa osadnika

Najważniejszą sprawą jest okresowe wywożenie osadów zebranych na dnie osadnika.

Kontrola i wywozenie nieczystości powinno być dokonywane nie rzadziej niż raz na dwa lata.
Kontrolę stanu osadnika może przeprowadzać użytkownik lub wykonywać na zlecenie
przedsiębiorstwo kanalizacyjne zajmujące się usługami asenizacyjnymi. W ich gestii pozostaje,
wywiezienie osadu na wysypisko, do punktu zlewnego lub do oczyszczalni.

background image

Projekt współfinansowany ze środków Europejskiego Funduszu Społecznego”

39

Przy wywozie osadu należy skontrolować stan kożucha tłuszczowego świadczącego

o jakości pracy osadnika gnilnego. Należy też raz do roku kontrolować filtr.

Prawidłowo wykonany osadnik gnilny jest właściwie niedostrzegalny w otoczeniu domu.

Zasady bhp podczas wykonawstwa instalacji lokalnych oczyszczalni ścieków

Szereg prac w oczyszczalniach ścieków nawet w ujęciu lokalnym zaliczane jest do prac

szczególnie niebezpiecznych z uwagi na ryzyko wystąpienia wypadku. Są to prace związane z:
-

zagrożeniem pożarowym i wybuchowym,

-

pracami wykonywanymi poniżej poziomu terenu,

-

pracami z użyciem urządzeń elektrycznych,

-

pracami wewnątrz studni, zbiorników,

-

kontaktem z czynnikami biologicznie aktywnymi,

-

właściwościami żrącymi i toksycznymi surowców stosowanych w technologiach

oczyszczania ścieków i środków występujących w ściekach.

Przed rozpoczęciem robót pracownik powinien zabezpieczyć się m.in. przed:
-

nagłym podniesieniem poziomu ścieków,

-

wystąpieniem niebezpiecznych i szkodliwych gazów,

-

obsuwaniem się ziemi w wykopach.

Każdorazowo, niezależnie od tego, kto wykonuje prace przy urządzeniach lokalnych
oczyszczalni ścieków - należy pamiętać o zachowaniu podstawowych wymagań bezpieczeństwa
swojego i innych osób obecnych w czasie wykonywania prac. Prace z uwagi na szczególny
charakter powinny być wykonywane w zespołach dwuosobowych. Pracownicy powinni używać
tylko narzędzi i sprzętu sprawnych techniczne.
Zatrudnieni pracownicy powinni być wyposażeni w podstawową odzież roboczą, środki ochrony
osobistej dostosowane do zakresu wykonywanych prac, sprzęt zabezpieczający w miejscu
prowadzenia prac. Powinni być przeszkoleni w zakresie stosowania środków zabezpieczających,
udzielania pierwszej pomocy przedlekarskiej w miejscu zdarzenia wypadkowego.

4.3.2. Pytania sprawdzające

Odpowiadając na pytania, sprawdzisz, czy jesteś przygotowany do zaplanowania przebiegu
ćwiczenia i jego wykonania.
1. Jakie czynniki wpływają na wybór systemu oczyszczania ścieków?
2. Jaki jest zakres czynności montażowych przy wykonaniu osadnika gnilnego?
3. Dlaczego wokół osadnika gnilnego wykonuje się opaskę betonową?
4. Jakie czynności występują przy montażu osadnika gnilnego z elementów prefabrykowanych

z tworzywa sztucznego?

5. Na czym polega dobór osadnika gnilnego?
6. Jakiej grubości powinno być przykrycie ziemią osadnika gnilnego?
7. Jakie czynności występują przy montażu przydomowej oczyszczalni ścieków z drenażem

rozsączającym?

8. W jakim celu stosuje się biopreparaty w osadnikach gnilnych?
9. W jaki sposób usuwa się osady z dna osadników gnilnych?
10. Z jaką częstotliwością usuwa się osady z osadników gnilnych?
11. Jakie czynności kontrolno-sprawdzające wykonywane są podczas eksploatacji osadników

gnilnych?

12. W jakie środki ochrony osobistej powinien być zaopatrzony pracownik podczas układania

ciągów drenarskich?

background image

Projekt współfinansowany ze środków Europejskiego Funduszu Społecznego”

40

13. Jakie prace uważane są za niebezpieczne w czasie montażu lokalnych oczyszczalni

ścieków?


4.3.3. Ćwiczenia


Ćwiczenie 1

Sporządź wykaz czynności, materiałów, sprzętu i narzędzi oraz środków ochrony osobistej

dla wykonania przydomowej oczyszczalni ścieków z osadnikiem gnilnym i drenażem
rozsączającym dla budynku mieszkalnego usytuowanego w terenie nieuzbrojonym zgodnie
z dokumentacją zamieszczoną w instrukcji. Podaj skład ekipy do wykonania zadania. Opracuj
instrukcję eksploatacji dla lokalnej oczyszczalni.


Sposób wykonania ćwiczenia

Aby wykonać ćwiczenie powinieneś:

1) zapoznać się z instrukcją wykonania ćwiczenia,
2) zapoznać się z dokumentacją techniczną zadania,
3) zapoznać się z wytycznymi montażu elementów przydomowej oczyszczalni ścieków,
4) zorganizować stanowisko pracy do wykonania ćwiczenia,
5) na arkuszu papieru wykonać niezbędne zestawienia i wykazy,
6) podać skład ekipy,
7) zaprezentować wykonane ćwiczenie,
8) dokonać oceny ćwiczenia.

Wyposażenie stanowiska pracy:

– arkusz papieru,
– długopis,
– ołówek,
– gumka,
– instrukcja wykonania ćwiczenia zawierająca dokumentację zadania,
– katalogi przydomowych oczyszczalni ścieków z różnymi rozwiązaniami technologicznymi,
– wymagania w zakresie montażu i wykonania poszczególnych elementów przydomowej

oczyszczalni ścieków,

– warunki techniczne wykonania i odbioru przydomowych oczyszczalni ścieków
– dokumentacja wykonania przydomowej oczyszczalni ścieków i odbioru technicznego,
– wymagania w zakresie warunków eksploatacyjnych dla wybranego układu technologicznego

przydomowej oczyszczalni ścieków,

– wymagania w zakresie bhp,
– literatura z rozdziału 6.

Ćwiczenie 2

Zaproponuj lokalizację przydomowej oczyszczalni ścieków zgodnie z wytycznymi

technicznymi i dokumentacją budowlaną działki

Sposób wykonania ćwiczenia

Aby wykonać ćwiczenie powinieneś:

1) zapoznać się z instrukcją wykonania ćwiczenia,
2) zapoznać się z dokumentacją techniczną zadania,
3) zapoznać się z wytycznymi w zakresie lokalizacji przydomowych oczyszczalni ścieków,

background image

Projekt współfinansowany ze środków Europejskiego Funduszu Społecznego”

41

4) zorganizować stanowisko pracy do wykonania ćwiczenia,
5) na arkuszu papieru,
6) zaprezentować wykonane ćwiczenie,
7) dokonać oceny ćwiczenia.

Wyposażenie stanowiska pracy:

– arkusz papieru,
– długopis,
– ołówek,
– gumka,
– instrukcja wykonania ćwiczenia zawierająca dokumentację zadania,
– dokumentacja techniczna przydomowej oczyszczalni ścieków,
– wymagania lokalizacyjne dla przydomowych oczyszczalni ścieków,

literatura z rozdziału 6



4.3.4. Sprawdzian postępów

Tak Nie

Czy potrafisz:
1) zorganizować stanowisko do wykonania ćwiczeń?

… …

2) określić rodzaje urządzeń w lokalnych oczyszczalniach ścieków?

… …

3) określić czynniki wpływające na wybór systemu oczyszczania

ścieków dla obiektów w terenie nieuzbrojonym?

… …

4) określić lokalizację przydomowej oczyszczalni ścieków? … …
5) przeprowadzić montaż osadnika gnilnego z elementów prefabrykowanych? … …
6) określić objętość rzeczywistą osadnika gnilnego?

… …

7) określić grubość warstwy przykrycia osadnika gnilnego?

… …

8) przeprowadzić montaż przydomowej oczyszczalni ścieków

z drenażem rozsączającym?

… …

9) określić częstotliwość czyszczenia osadników gnilnych?

… …

10) określić wymagania dla montażu drenażu rozsączającego?

… …

11) określić sposoby likwidowania specyficznych zapachów powstających

w

osadnikach

gnilnych?

… …

12) określić zasadność stosowania biopreparatów w osadnikach gnilnych?

… …

13) określić sposoby usuwania zatorów w rurach drenażu rozsączającego?

… …

14) dokonać prezentacji wykonanego ćwiczenia?

… …

background image

Projekt współfinansowany ze środków Europejskiego Funduszu Społecznego”

42

5. SPRAWDZIAN OSIĄGNIĘĆ

INSTRUKCJA DLA UCZNIA


1. Przeczytaj uważnie instrukcję.
2. Podpisz imieniem i nazwiskiem kartę odpowiedzi.
3. Zapoznaj się z zestawem pytań testowych.
4. Test zawiera 20 pytań o różnym stopniu trudności. Są to pytania wielokrotnego wyboru.
5. Udzielaj odpowiedzi tylko na załączonej karcie odpowiedzi, stawiając w odpowiedniej

rubryce znak X. W przypadku pomyłki należy błędną odpowiedź zaznaczyć kółkiem,
a następnie ponownie zakreślić odpowiedź prawidłową.

6. Test składa się z dwóch części o różnym stopniu trudności: I część – poziom podstawowy,

II część - poziom ponadpodstawowy.

7. Pracuj samodzielnie, bo tylko wtedy będziesz miał satysfakcję z wykonanego zadania.
8. Kiedy udzielenie odpowiedzi będzie Ci sprawiało trudność, wtedy odłóż jego rozwiązanie na

później i wróć do niego, gdy zostanie Ci czas wolny.

9. Na rozwiązanie testu masz 45 minut.

Powodzenia!

ZESTAW ZADAŃ TESTOWYCH


I część
1. Minimalna odległość drenażu rozsączającego od studni wynosi:

a) 5 m,
b) 10 m,
c) 20 m,
d) 30 m.

2. Zbiorniki bezodpływowe powinny być oddalone od drogi minimum:

a) 1 m,
b) 2 m,
c) 5 m,
d) 10 m.

3. Do przewietrzania warstwy gruntu w drenażu rozsączającym stosowane są:

a) filtry gruntowe,
b) studzienki napowietrzające,
c) studzienki rozdzielcze,
d) złoża piaskowe.

4. Zbiornik bezodpływowy powinien być wyposażony w:

a) odsadzkę,
b) rewizję,
c) układ wentylacyjny,
d) urządzenie pomiarowe.

5. Do ułożenia drenażu rozsączającego stosuje się rury:

a) ceramiczne perforowane,
b) kamionkowe szkliwione,
c) z PVC karbowane,
d) żeliwne sferoidalne.

background image

Projekt współfinansowany ze środków Europejskiego Funduszu Społecznego”

43

6. Wybór systemu oczyszczania ścieków w lokalnych oczyszczalniach zależy od:

a) kosztów inwestycji i eksploatacji,
b) popularności danej technologii,
c) rodzaju gruntu,
d) sposobu użytkowania budynku.

7. Drenażu rozsączającego nie można wybudować, gdy:

a) jest duże zanieczyszczenie wód podziemnych,
b) jest niski poziom wód gruntowych,
c) jest wysoki poziom wód gruntowych,
d) teren jest okresowo zlewany.

8. W studni chłonnej warstwę filtracyjną wykonuje się z:

a) cegły,
b) drewna,
c) geowłókniny,
d) żużla.

9. Wolna przestrzeń ponad zwierciadłem ścieków w osadniku gnilnym powinna wynosić:

a) 0,20 m,
b) 0,40 m,
c) 0,75 m,
d) 1,00 m.

10. Zbiornik z tworzywa sztucznego układany w wykopie powinien:

a) być zabezpieczony deskowaniem pełnym,
b) być zabezpieczony rozporami hydraulicznymi,
c) mieć na dnie wykopu ułożoną płytę betonową,
d) mieć podsypkę z zagęszczonego piasku.

11. Prace niebezpieczne z uwagi na ryzyko wypadku podczas montażu instalacji lokalnej

oczyszczalni ścieków to prace:
a) przy łączenia rur drenarskich w wykopie,
b) na wysokości,
c) przy opuszczaniu zbiornika do wykopu wymiana czyszczaka,
d) przy przenoszeniu rur drenarskich.

12. W złożu hydroponicznym oczyszczanie ścieków zachodzi przy stosowaniu:

a) kory drzewnej,
b) pokruszonego marmuru,
c) roślinności wodnej,
d) wypełnienia ceramicznego.

13. Biologiczne oczyszczanie ścieków w warunkach sztucznych zachodzi na złożu:

a) gnilnym,
b) hydroponicznym,
c) kontenerowym,
d) zraszanym.

14. Osadniki gnilne powinny być przykryte warstwą ziemi o maksymalnej grubości wynoszącej:

a) 0,50 m,
b) 0,80 m,
c) 1,00 m,
d) 1,20 m.




background image

Projekt współfinansowany ze środków Europejskiego Funduszu Społecznego”

44

II część
15. Warunkiem prawidłowej pracy złoża tarczowego jest przepływ ścieków:

a) szybki z długim czasem kontaktu z błoną biologiczną,
b) szybki z krótkim czasem kontaktu z błoną biologiczną,
c) wolny z długim czasem kontaktu z błoną biologiczną,
d) wolny z krótkim czasem kontaktu z błoną biologiczną.

16. W przypadku, gdy poziom wód gruntowych jest wysoki, drenaż rozsączający wykonuje się:

a) na estakadzie,
b) na nasypie,
c) w tunelu,
d) w wykopie.

17. Dopływ ścieków do osadnika gnilnego powinien być:

a) okresowy dużymi porcjami,
b) okresowy małymi porcjami,
c) regularny ze stałą prędkością,
d) regularny ze zmienną prędkością.

18. Biopreparaty stosowane w osadnikach gnilnych powodują:

a) ograniczenie dostępu tlenu do osadnika,
b) opóźnienie rozkładu części organicznych zanieczyszczeń,
c) przyspieszenie rozkładu części organicznych zanieczyszczeń,
d) zwiększenie ilości powstających osadów.

19. Geowłóknina w drenażu rozsączającym stosowana jest do:

a) przykrycia powierzchniowego studzienki rozdzielczej,
b) wyłożenia dna wykopu drenażu rozsączającego,
c) zabezpieczenia przed napływem wód gruntowych,
d) zabezpieczenia warstwy filtracyjnej przed zanieczyszczeniem z gruntu.

20. Aby rozpocząć budowę zbiornika bezodpływowego trzeba:

a) uzyskać pozwolenie na budowę,
b) uzyskać zgodę stacji sanitarno-epidemiologicznej,
c) zgłosić rozpoczęcie budowy do urzędu administracji państwowej,
d) zgłosić rozpoczęcie budowy do urzędu gospodarki wodnej.

background image

Projekt współfinansowany ze środków Europejskiego Funduszu Społecznego”

45

KARTA ODPOWIEDZI


Imię i nazwisko ……………………………………………………..


Instalacja urządzeń lokalnych oczyszczalni ścieków


Zakreśl poprawną odpowiedź. Jeżeli pomylisz się – błędną odpowiedź zakreśl kółkiem.

Odpowiedź

Numer

pytania

a b c d

Punktacja

1

2

3

4

5

6

7

8

9

10

11

12

13

14

15

16

17

18

19

20

Razem

background image

Projekt współfinansowany ze środków Europejskiego Funduszu Społecznego”

46

6. LITERATURA

1. Chudzicki J., Sosnowski S.: Instalacje kanalizacyjne – projektowanie, wykonanie,

eksploatacja. Wydawnictwo „Seidel – Przywecki”, Warszawa 2005

2. Cieślowski S., Karpiński M., Trzaskowski W.: Technologia Instalacje sanitarne, WSiP,

Warszawa 1996

3. Cieślowski S., Krygier K.: Technologia Instalacje sanitarne część 1,WSiP, Warszawa 1998
4. Heidrich Z.: Wodociągi i Kanalizacja, Część 2, Kanalizacja, WSiP, Warszawa 1999
5. Jackson A, Day D.: Własny dom, Wiedza i życie, Warszawa 2002
6. Koczyk H., Antoniewicz B.: Nowoczesne wyposażenie techniczne domu jednorodzinnego.

Instalacje sanitarne i grzewcze, PWRiL, Poznań 2004

7. Praca zbiorowa: Technologia instalacji wodociągowych i gazowych, Część 1, Instalacje

wodociągowe, Rea, Warszawa1998

8. Praca zbiorowa: Warunki techniczne wykonania i odbioru robót budowlano-montażowych.

tom II Instalacje sanitarne i przemysłowe, Arkady, Warszawa 1988

9. Praca zbiorowa: Wodociągi i kanalizacja – projektowanie, montaż, eksploatacja,

modernizacja, Wydawnictwo Verlag Dashőfer, Warszawa 2005

10. Stier E., Fischer M.: Podręczny poradnik eksploatacji oczyszczalni ścieków, Wydawnictwo

„Seidel – Przywecki”, Warszawa 1998

11. Strona internetowa: www.e-instalacje.pl
12. Strona internetowa: www.muratordom.pl


Wyszukiwarka

Podobne podstrony:
monter instalacji i urzadzen sanitarnych 713[02] z1 10 n
monter instalacji i urzadzen sanitarnych 713[02] z1 10 n
monter instalacji i urzadzen sanitarnych 713[02] z1 11 n
monter instalacji i urzadzen sanitarnych 713[02] z1 06 n
monter instalacji i urzadzen sanitarnych 713[02] z1 2 3 4 03 n
monter instalacji i urzadzen sanitarnych 713[02] z1 07 n
monter instalacji i urzadzen sanitarnych 713[02] z1 2 04 n
monter instalacji i urzadzen sanitarnych 713[02] z1 2 3 4 02 n
monter instalacji i urzadzen sanitarnych 713[02] z1 2 3 4 01 n
monter instalacji i urzadzen sanitarnych 713[02] z1 05 n
monter instalacji i urzadzen sanitarnych 713[02] z1 09 n
monter instalacji i urzadzen sanitarnych 713[02] z1 2 3 4 01 u
monter instalacji i urzadzen sanitarnych 713[02] z1 11 n
monter instalacji i urzadzen sanitarnych 713[02] z1 06 n
monter instalacji i urzadzen sanitarnych 713[02] z1 2 3 4 01 u
monter instalacji i urzadzen sanitarnych 713[02] z1 06 n

więcej podobnych podstron