Do środków produkcji w mechanicznej obróbce metali zalicza się:
obrabiarki,
narzędzia skrawające,
wyposażenie obrabiarek,
narzędzia miernicze i sprawdziany,
urządzenia transportowe (tzw. transportu bliskiego: przenośniki, podnośniki itp.).

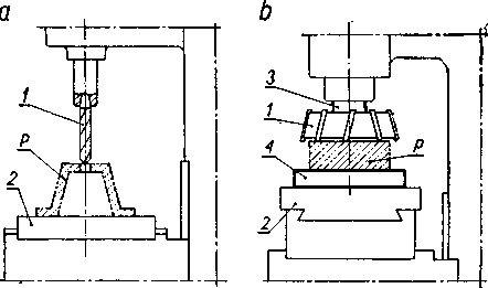
W celu dokonania obróbki skrawaniem przedmioty obrabiane i narzędzia skrawające muszą być związywane z obrabiarką w położeniach odpowiadających zamierzonej obróbce. Związanie narzędzia lub przedmiotu z obrabiarką może być:
a) bezpośrednie (rys. 1a), jeśli części narzędzia lub przedmiotu, które mają stykać się z obrabiarką, mają kształty i wymiary umożliwiające
Rys. 1 Układ obrabiarka — narzędzie — przedmiot obrabiany:
|
bezpośrednie połączenie z odpowiednim miejscem obrabiarki;
b) za pośrednictwem dodatkowych urządzeń (rys. 1b), jeśli kształty i wymiary narzędzia lub przedmiotu nie umożliwiają bezpośredniego połączenia z obrabiarką; wszelkie tego rodzaju dodatkowe urządzenia, które służą do związywania narzędzi skrawających i przedmiotów obrabianych z obrabiarkami, noszą ogólną nazwę wyposażenia obrabiarek.
Wyposażenie obrabiarek dzieli się na normalne i specjalne. Do wyposażenia normalnego obrabiarek zalicza się urządzenia o charakterze mniej lub bardziej uniwersalnym, jak np. trzpienie i oprawki normalne do narzędzi, tarcze zabierakowe, uchwyty tokarskie samosterujące, imadła maszynowe, trzpienie tokarskie stałe i rozprężne, podzielnice, stoły obrotowe itd. Niektóre urządzenia należące do wyposażenia normalnego obrabiarki, jak np. tarcze zabierakowe lub kły tokarskie, dostarczane są użytkownikowi przez wytwórcę wraz z obrabiarką.
Uniwersalność wyposażenia normalnego obrabiarek polega na tym, że może ono być stosowane albo do przedmiotów (narzędzi) o różnych kształtach i wymiarach, albo w różnych operacjach wykonywanych na różnych obrabiarkach, lub też w jednym i w drugim przypadku jednocześnie.
Wyposażeniem specjalnym obrabiarek nazywa się urządzenia, które mają służyć do związywania z obrabiarką tylko określonego przedmiotu (rzadziej kilku przedmiotów o zbliżonych kształtach) lub narzędzia do jednej lub kilku operacji, wykonywanych na tym przedmiocie.
Rys. 2.
|
Urządzenia takie muszą więc mieć kształty i wymiary dostosowane do przedmiotu lub narzędzia, które mają być połączone z obrabiarką w określonym położeniu. Jak wynika z powyższych określeń, wyposażenie obrabiarek składa się z wyposażenia do narzędzi i do przedmiotów obrabianych.
Wyposażenie obrabiarek, niezależnie od podziału na normalne i specjalne, dzieli się na uchwyty i przyrządy.
Uchwyt jest to urządzenie, które służy albo do ustalania przedmiotu (nadania mu określonego położenia) względem obrabiarki, albo do zamocowania go na obrabiarce, albo wreszcie spełnia obie te funkcje razem. Ponadto uchwyt może być w razie potrzeby zaopatrzony w elementy które służą do spełniania dodatkowych zadań, jak np. do ułatwienia pomiaru przedmiotu w uchwycie, do ustawiania narzędzia na wymiar obróbkowy itd.
Przyrząd jest to urządzenie, które służy do nadawania przedmiotowi podczas jednej operacji szeregu kolejnych określonych położeń względem obrabiarki (bez odmocowywania go) lub do zmiany jego położenia w sposób ciągły. Poza tym przyrząd może równocześnie spełniać funkcje uchwytu, tj. ustalać i zamocowywać przedmiot obrabiany itd.
Na rys 2a przedstawiono uchwyt frezarski specjalny, który służy do ustalenia i zamocowania przedmiotu obrabianego P, na rys. 2b — przyrząd wiertarski przesławny, w którym wierci się w przedmiocie P otwory z kilku stron, wskazanych strzałkami (przyrząd ten spełnia jednocześnie rolę uchwytu), a na rys. 2c pokazany jest stół obrotowy 1 (przyrząd uniwersalny, należący do wyposażenia normalnego), który służy tylko do nadawania przedmiotom P powolnego ruchu obrotowego podczas obróbki (przyrząd do zmiany położenia przedmiotu w sposób ciągły). Przedmioty P są tu ustalane i zamocowywane w uchwycie specjalnym 2, przymocowanym do stołu 1. W tym więc przypadku całość urządzenia składa się z przyrządu uniwersalnego i uchwytu specjalnego.
Ponieważ nazwy „przyrząd" i „uchwyt", w znaczeniu przyrządów i uchwytów do przedmiotów obrabianych, są szeroko stosowane w przemyśle maszynowym poza obróbką mechaniczną skrawaniem (istnieją przyrządy i uchwyty spawalnicze, montażowe, do obróbki cieplnej itd.), przyrządy i uchwyty do obróbki mechanicznej skrawaniem nazywać będziemy dla odróżnienia przyrządami i uchwytami obróbkowymi.
Rys. 3. Schemat klasyfikacji wyposażenia obrabiarek |
Poza przyrządami i uchwytami obróbkowymi normalnymi (które z reguły są uniwersalne) oraz specjalnymi istnieją tzw. przyrządy i uchwyty specjalizowane. Są to przyrządy i uchwyty normalne, w których dokonano przeróbek lub które uzupełniono elementami specjalnymi, w celu dostosowania ich do przedmiotów lub operacji, do których w normalnym wykonaniu nie nadawały się. Podkreślić należy, iż takie „specjalizowanie" przyrządów i uchwytów normalnych jest znacznie ekonomiczniejsze od projektowania i wykonywania przyrządów i uchwytów specjalnych, pod warunkiem, że dokonane przeróbki umożliwiają przywrócenie przyrządowi lub uchwytowi jego pierwotnej postaci. Typowym uchwytem normalnym specjalizowanym jest np. trójszczękowy uchwyt tokarski samocentrujący ze specjalnymi szczękami.
Uchwyty i przyrządy obróbkowe można klasyfikować z różnych punktów widzenia, np. ze względu na cechy konstrukcyjne (trzpienie, oprawki, płyty, skrzynki itd.), wykonywane przez nie podczas obróbki ruchy (obracające się, wykonujące ruch prostoliniowy lub krzywoliniowy, nieruchome), ilość miejsc na przedmioty obrabiane (jednoprzedmiotowe, wielo-przedmiotowe) itd. Najczęściej stosuje się podział uchwytów i przyrządów obróbkowych ze względu na rodzaj obróbki, do jakiej mają służyć, a więc rozróżnia się przyrządy i uchwyty: tokarskie, frezarskie, wiertarskie itd. (rys. 3).
Stosowanie przyrządów i uchwytów obróbkowych ma na celu obniżenie kosztów produkcji oraz zwiększenie dokładności obróbki, dzięki czemu zwiększa się stopień zamienności wyrobów. Cele te osiąga się dzięki: a. Zwiększeniu wydajności obrabiarki przez:
1. Skrócenie czasu pomocniczego operacji, zużywanego na założenie i zdjęcie przedmiotu obrabianego, gdyż czynności te wykonuje się łatwiej i szybciej, gdy przedmiot obrabiany jest w uchwycie. Ponadto czas ten można „skrócić" przez zastosowanie obróbki wahadłowej lub ciągłej. Przy obu tych sposobach obróbki zdejmowanie przedmiotu obrobionego i zakładanie następnego odbywa się podczas obróbki innego przedmiotu. Różnica pomiędzy obróbką wahadłową i ciągłą jest następująca:
Przyrząd do obróbki wahadłowej ma dwa (rys. 4a) lub więcej miejsc do zakładania przedmiotów i miejsca te są na przemian przesuwane w położenie obróbki i w położenie obsługi, tj. zakładania i zdejmowania przedmiotów. Kolejność obróbki przedmiotów P głowicą frezową 1 w przyrządzie frezarskim do obróbki wahadłowej (rys. 4a) jest następująca:

położenie I: stół przesuwa się w kierunku strzałki i rozpoczyna się obróbka przedmiotu P1, podczas której zostaje założony do przyrządu przedmiot P2;
położenie II: po zakończeniu obróbki przedmiotu P2, podczas której obrobiony przedmiot P1 zastąpiono przez przedmiot P3, przyrząd zostaje przekręcony o 180° naokoło osi O;
położenie III: rozpoczyna się obróbka przedmiotu P3, podczas której przedmiot P2 zostanie zastąpiony przez przedmiot P4;
położenie IV: po zakończeniu obróbki przedmiotu P4,
Rys. 4. a) Schemat przebiegu obróbki wahadłowej; b) uchwyt do jednoczesnej obróbki kilku przedmiotów |
podczas której przedmiot P3 został zastąpiony przez P5, przyrząd zostaje ponownie przekręcony o 180°;
położenie V: po obrobieniu czterech przedmiotów cykl powtarza się, a mianowicie rozpoczyna się obróbka przedmiotu P5, podczas której przedmiot P4 zostanie zastąpiony przez P6 itd. Obróbka w takim przyrządzie jest przerywana tylko na czas potrzebny do zmiany położenia przyrządu.
Przyrząd do obróbki ciągłej (rys. 2c) jest zawsze wieloprzedmiotowy, a przedmioty obrabiane w sposób ciągły (najczęściej ruchem obrotowym) dostają się kolejno najpierw w położenie obróbki, a następnie w położenie obsługi, gdzie zostają zdjęte i zastąpione przez następne, nie obrobione przedmioty. Obróbka nie jest w ogóle przerywana, a czas trwania operacji jest równy czasowi maszynowemu (czas pomocniczy praktycznie równa się zeru). Obróbka ciągła jest więc bardziej wydajna od obróbki wahadłowej, gdyż przy tej ostatniej czas trwania operacji równa się sumie czasu maszynowego i czasu pomocniczego zużytego na zmianę położenia przyrządu.
2. Zwiększenie ilości jednocześnie pracujących narzędzi, np. przez zastosowanie przyrządu — głowicy wielowrzecionowej na wiertarce jednowrzecionowej.
3. Jednoczesną obróbkę kilku przedmiotów (rys. 4b), dzięki czemu skraca się czas dobiegu i wybiegu narzędzia 1.
4. Podwyższenie (w pewnych przypadkach) warunków skrawania, co
może być możliwe dzięki pewniejszemu zamocowaniu przedmiotu
w uchwycie niż poprzednio na obrabiarce.
Zastosowaniu mniej dokładnej obrabiarki, gdyż przy obróbce w uchwytach zwykle dokładność obróbki wzrasta.
Rozszerzeniu możliwości obróbkowych obrabiarki przez zmianę rodzaju obróbki dokonywanej na niej, np. przez założenie specjalnej głowicy narzędziowej (przyrząd do narzędzia) na frezarkę poziomą, można ją zamienić w dłutownicę.
Zmniejszeniu ilości braków, gdyż dokładność obróbki w uchwycie zależy głownie od prawidłowości działania samego uchwytu, a tylko w nieznacznym stopniu od umiejętności robotnika obsługującego obrabiarkę
Możliwości zastąpienia robotnika wykwalifikowanego przez przyuczonego (z powodów podanych w punkcie c), dzięki czemu robotnicy wykwalifikowani mogą być kierowani do robót trudniejszych.
Zmniejszeniu wysiłku umysłowego i fizycznego robotnika (czynności pomocnicze, jak ustalanie i zamocowywanie przedmiotów, ustalanie położenia narzędzia itd., są przy obróbce w uchwytach i przyrządach łatwiejsze do wykonania) oraz zwiększeniu bezpieczeństwa pracy.
Opłacalność przyrządów i uchwytów normalnych nie podlega dyskusji ze względu na uniwersalność ich zastosowania. Inaczej jednak przedstawia się sprawa, gdy chodzi o przyrządy i uchwyty specjalne, są one bowiem znacznie droższe od normalnych (o tak samo złożonej budowie), gdyż trzeba je specjalnie projektować i wykonuje są je zwykle w jednym egzemplarzu, podczas gdy przyrządy i uchwyty normalne produkuje się zazwyczaj seryjnie, co obniża ich koszt wykonania. Poza tym przyrządy i uchwyty specjalne przeznaczone są najczęściej tylko do jednego przedmiotu i jednej operacji. Dlatego też przed każdorazowym podjęciem decyzji, czy do pewnej operacji wykonywanej na określonym przedmiocie ma być zaprojektowany i wykonany uchwyt specjalny, należałoby sprawdzać, czy koszt takiego uchwytu będzie niższy od oszczędności uzyskanych dzięki stosowaniu go, gdyż w przeciwnym razie przedmioty obrabiane bez uchwytu byłyby tańsze od obrabianych w uchwycie).
Istnieje wprawdzie wiele mniej lub bardziej ścisłych sposobów obliczeniowych, które umożliwiają stwierdzenie, czy użycie specjalnego uchwytu będzie opłacalne, ale wszystkie te sposoby mają tę wspólną wadę, że do stosowania ich konieczne jest posiadanie pewnych danych, które są trudne do uzyskania, jak np.: a. koszt zaprojektowania i wykonania uchwytu, którego projektowanie w chwili badania opłacalności nie zostało jeszcze rozpoczęte, b. czas trwania operacji przy obróbce w tym jeszcze nie zaprojektowanym uchwycie itd.
Obliczanie tych danych jest pracochłonne, a wyniki — mało dokładne, przy czym, jeśli z obliczeń wyniknie, że zastosowanie uchwytu specjalnego nie opłaci się, to czas zużyty na dokonanie obliczeń będzie stracony. Dlatego też wspomniane sposoby obliczeniowe stosowane są w praktyce rzadko, a decyzję, czy w konkretnym przypadku ma być użyty uchwyt specjalny, czy też nie, podejmuje technolog planujący obróbkę, opierając się na własnym doświadczeniu i posiadanych danych, jak np.: park maszynowy wytwórni i jego stan, wielkość produkcji itd. Jest rzeczą oczywistą, że przy małej ilości produkowanych przedmiotów powinny one być obrabiane bez uchwytów specjalnych lub w uchwytach o prostej budowie i tanich, które zapewniają tylko wymaganą dokładność obróbki, ale mogą nie być zbyt sprawne w działaniu. Natomiast w produkcji wielkoseryjnej i masowej opłaca się stosować nawet uchwyty drogie, ale za to nie tylko dokładne w działaniu, lecz także jak najbardziej wydajne i długotrwałe.
Każdy uchwyt lub przyrząd obróbkowy składa się z pewnej ilości elementów spełniających różne funkcje. Rozróżnia się następujące rodzaje elementów uchwytów i przyrządów:
Elementy ustalające przedmiot obrabiany w uchwycie lub przyrządzie.
Elementy podporowe i oporowe.
Elementy zamocowujące przedmiot obrabiany.
Elementy ustalające i zamocowujące uchwyt lub przyrząd na obrabiarce.
Elementy ustalające narzędzie względem uchwytu lub przyrządu.
Elementy podziałowe (tylko w przyrządach).
Elementy ułatwiające wkładanie i wyjmowanie przedmiotu obrabianego
Elementy ułatwiające pomiar przedmiotu obrabianego w uchwycie lub przyrządzie.
Elementy ułatwiające usuwanie wiórów z uchwytu lub przyrządu.
Korpusy uchwytów i przyrządów.
Elementy złączne uchwytów i przyrządów.
Elementy różne: rękojeści, dźwignie itd.
Niektóre z wymienionych rodzajów elementów występują w ogromnej większości uchwytów i przyrządów obróbkowych, jak np. elementy ustalające przedmiot obrabiany, inne zaś — znacznie rzadziej. W pewnych przypadkach jeden element może spełniać jednocześnie dwie funkcje, np. szczęki uchwytu samocentrującego, które jednocześnie centrują i zamocowują przedmiot obrabiany.
Jako elementy uchwytów stosuje się w szerokim zakresie (zwłaszcza jako elementy złączne i zamocowujące) znormalizowane elementy używane w ogólnej budowie maszyn, jak śruby, wkręty, nakrętki, podkładki, wpusty itd. Poza tym, wraz z postępującym coraz szybszym rozwojem konstrukcji przyrządów i uchwytów oraz z coraz szerszym ich stosowaniem, powstała nowa grupa elementów maszynowych — typowe elementy przyrządów i uchwytów. Wiele z tych elementów — częściej stosowanych — zostało znormalizowanych, inne mają już wypróbowane i ustalone rozwiązania konstrukcyjne.
Dokładna znajomość typów i odmian konstrukcyjnych elementów przyrządów i uchwytów, ich przeznaczenia, zakresu stosowania oraz zasad ich projektowania jest podstawowym warunkiem zdobycia umiejętności konstruowania przyrządów i uchwytów1) obróbkowych. Dlatego też znaczna część poradnika jest poświęcona konstrukcji tych elementów.