1. Opis ćwiczenia.
Do wyznaczenia długości fali świetlnej wykorzystano w ćwiczeniu zjawisko interferencji w układzie optycznym do otrzymywania pierścieni Newtona. Znając promienie poszczególnych pierścieni oraz promień krzywizny soczewki można wyznaczyć długość badanej fali. Ćwiczenie składało się z dwóch etapów. W pierwszym etapie należało wyznaczyć promień krzywizny płasko - wypukłej soczewki, użytej w układzie optycznym, badając wiązkę światła o znanej długości fali. Drugi etap polegał na określeniu długości fal światła monochromatycznego otrzymanego przez odfiltrowanie światła białego, z wykorzystaniem tego samego układu optycznego co w pierwszym etapie. Tym razem szukana była długość fali, którą można było wyliczyć znając promień krzywizny soczewki.
2. Przebieg ćwiczenia.
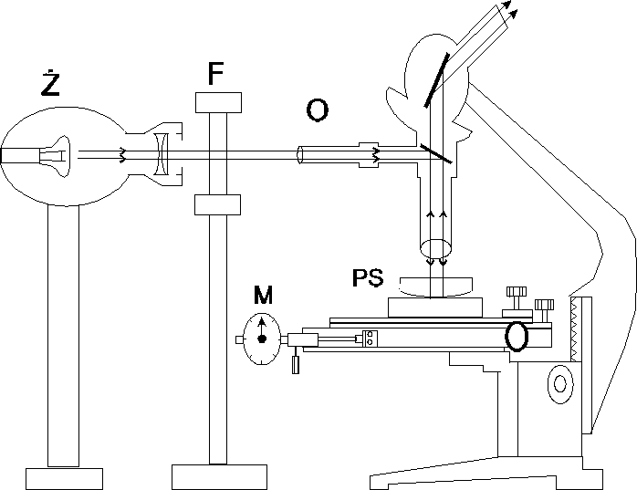
Zarówno w pierwszym jak i w drugim etapie ćwiczenia wykorzystano mikroskop, o słabym powiększeniu, do obserwacji powstałych w wyniku interferencji pierścieni Newtona w świetle odbitym. Mikroskop ten wyposażony był w ruchomy stolik, pozwalający na przesuwanie zamocowanego na nim przedmiotu. Dokładny pomiar przesuwu stolika w przód i tył był możliwy dzięki sprzężonemu z nim czujnikowi mikrometrycznemu. Na stoliku, bezpośrednio pod obiektywem, został umieszczony układ optyczny (soczewka płasko - równoległa i płytka szklana) do otrzymywania pierścieni Newtona. Na układ ten, za pomocą oświetlacza, została prostopadle kierowana wiązka światła pochodząca z umieszczonego przed oświetlaczem źródła. Powstały obraz interferencyjny obserwowano przez okular. Ponadto w pierwszym etapie źródłem światła o znanej długości fali (589 nm) była lampa sodowa, dająca żółtą linię sodu. W drugim etapie zamiast lampy sodowej użyto lampy mikroskopowej dającej światło białe, a także zastosowano filtry interferencyjne do otrzymywania światła monochromatycznego.
Szkic układu do obserwacji pierścieni Newtona :

3. Tabele pomiarów.
1) wyznaczanie promienia krzywizny soczewki :
L.p. |
rząd n |
odczyt w przód rp [mm] |
odczyt w tył rt [mm] |
1. |
5 |
1,35 |
1,28 |
2. |
10 |
1,80 |
1,71 |
3. |
15 |
2,15 |
2,06 |
4. |
20 |
2,44 |
2,36 |
5. |
25 |
2,71 |
2,62 |
6. |
30 |
2,95 |
2,86 |
7. |
35 |
3,17 |
3,09 |
8. |
40 |
3,39 |
3,29 |
2) wyznaczanie długości fali światła monochromatycznego :
a) filtr interferencyjny nr 1 :
L.p. |
rząd n |
odczyt w przód rp [mm] |
odczyt w tył rt [mm] |
1. |
5 |
1,29 |
1,28 |
2. |
10 |
1,71 |
1,70 |
3. |
15 |
2,06 |
2,04 |
4. |
20 |
2,36 |
2,34 |
5. |
25 |
2,61 |
2,59 |
6. |
30 |
2,84 |
2,80 |
7. |
35 |
3,07 |
3,02 |
8. |
40 |
3,26 |
3,23 |
b) filtr interferencyjny nr 2 :
L.p. |
rząd n |
odczyt w przód rp [mm] |
odczyt w tył rt [mm] |
1. |
5 |
1,38 |
1,33 |
2. |
10 |
1,84 |
1,77 |
3. |
15 |
2,22 |
2,14 |
4. |
20 |
2,53 |
2,45 |
5. |
25 |
2,81 |
2,72 |
6. |
30 |
3,06 |
2,97 |
7. |
35 |
3,28 |
3,20 |
8. |
40 |
3,52 |
3,49 |
3. Błędy i obliczenia.
Odpowiednio do powyższego punktu :
1) promień krzywizny soczewki i błąd jego pomiaru obliczono ze wzorów :
W celu wykonania obliczeń przyjęto : stałe rn = 1,32 mm dla n = 5 , natomiast za rm przyjmowano kolejne wartości na r ; λNa = 589 nm ,
Δr = 0,04 mm . Wyniki obliczeń :
Lp. |
rząd m [mm] |
[mm] |
R [mm] |
ΔR [mm] |
1. |
5 |
1,32 |
-- |
-- |
2. |
10 |
1,76 |
460,2 |
84 |
3. |
15 |
2,10 |
452,9 |
46 |
4. |
20 |
2,40 |
454,7 |
34 |
5. |
25 |
2,66 |
452,7 |
27 |
6. |
30 |
2,90 |
452,8 |
23 |
7. |
35 |
3,13 |
455,8 |
20 |
8. |
40 |
3,34 |
456,6 |
18 |
Średnia wartość promienia krzywizny soczewki wynosi Rśr = 455,1 mm ,
a odchylenie średnie kwadratowe od wartości średniej ΔŚrKwR = 2,7 mm .
2) długość fali światła monochromatycznego i błąd jej pomiaru wyznaczono ze wzorów :
W celu wykonania obliczeń przyjęto : stałe rn = 1,32 mm dla n = 5 , natomiast za rm przyjmowano kolejne wartości na r ; ΔR - odpowiednio dla rzędu n z tabel ; stałe R = 455,1 mm , Δr = 0,04 mm . Wyniki obliczeń :
a) filtr interferencyjny nr 1 :
Lp. |
rząd m [mm] |
[mm] |
λ [nm] |
Δλ [mm] |
1. |
5 |
1,28 |
-- |
-- |
2. |
10 |
1,70 |
552 |
206 |
3. |
15 |
2,05 |
561 |
115 |
4. |
20 |
2,35 |
567 |
85 |
5. |
25 |
2,60 |
561 |
67 |
6. |
30 |
2,82 |
554 |
57 |
7. |
35 |
3,04 |
558 |
50 |
8. |
40 |
3,24 |
557 |
45 |
Średnia wartość długości fali wynosi λ = 559 nm , a odchylenie średnie kwadratowe od wartości średniej ΔŚrKwλ = 5 nm .
b) filtr interferencyjny nr 2 :
L.p. |
rząd m [mm] |
[mm] |
λ [nm] |
Δλ [nm] |
1. |
5 |
1,36 |
-- |
-- |
2. |
10 |
1,80 |
625 |
226 |
3. |
15 |
2,18 |
640 |
127 |
4. |
20 |
2,49 |
635 |
93 |
5. |
25 |
2,76 |
638 |
74 |
6. |
30 |
3,02 |
638 |
63 |
7. |
35 |
3,24 |
634 |
55 |
8. |
40 |
3,51 |
656 |
50 |
Średnia wartość długości fali wynosi λ = 638 nm , a odchylenie średnie kwadratowe od wartości średniej ΔŚrKwλ = 9 nm .
4. Wnioski z ćwiczenia .
W otrzymanych wynikach pomiaru długości fali i promienia krzywizny soczewki wyróżniono dwa rodzaje błędów . Błędy wyznaczone metodą różniczki zupełnej świadczą o wpływie poszczególnych wielkości na wielkość badaną , błąd średni kwadratowy natomiast pokazuje jaka jest powtarzalność pomiarów . Uzyskane wyniki świadczą o dość dobrej powtarzalności .
O poprawności wyników świadczą też barwy jakie odpowiadają uzyskanym długością fali :
- filtr nr 1 : λŚr = 559 nm - barwa ta leży na granicy barw : zielona i żółtozielona (570 nm) - co zgadza się z barwą filtru użytego w ćwiczeniu ,
- filtr nr 2 : λŚr = 638 nm - barwa ta leży na granicy barw : pomarańczowa i czerwona (630 nm) - co także zgadza się z barwą filtru użytego w ćwiczeniu .
Na błędy pomiarów miały wpływ między innymi takie czynniki jak :
- niemożność dokładnego określenia środka pierścieni - kąt widzenia na to nie pozwalał ,
- duża trudność w odróżnieniu pierścieni o rzędzie n > 30 ,
- duża czułość układu na wpływ czynników zewnętrznych takich jak szturchni