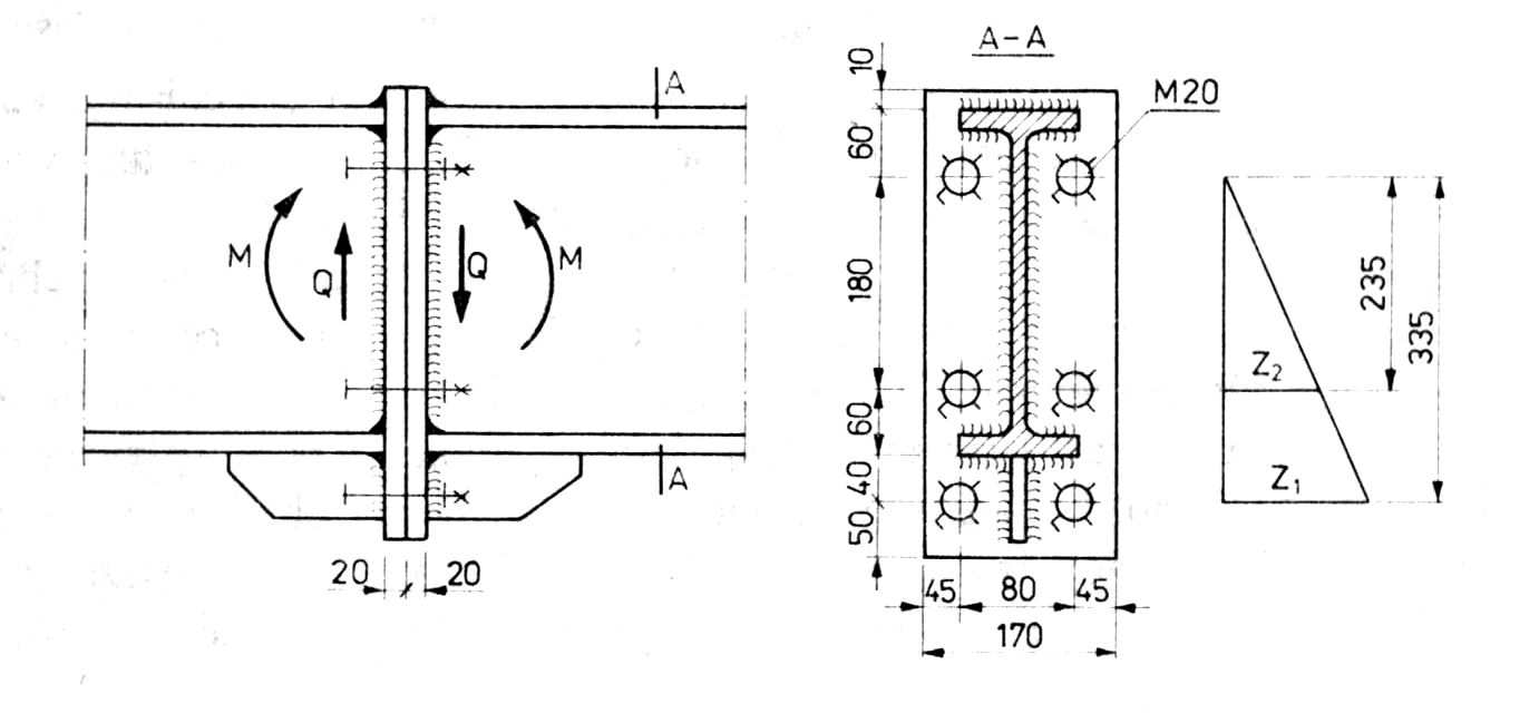
PRZYKŁAD 3-6

Zaprojektować sprężony styk doczołowy rygla ramy stalowej wykonanego z dwuteownika I 300PE. Materiał rygla - stal St3S , M=120 kNm , V=155 kN , śruby M20-12.9.
Połączenie winno spełniać wymogi dla połączeń kategorii F.
Przy połączeniach kategorii F jesteśmy zobligowani warunkami normowymi do sprawdzenia stanu granicznego rozwarcia styku.
![]()
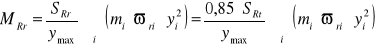
Nośność styku sprężonego z uwagi na rozwarcie sprawdzamy ze wzoru:
![]()
![]()
a zatem:
![]()
Siła poprzeczna w przekroju jest przenoszona przez tarcie. Przyjmując αs =1 oraz μ=0,4 otrzymano nośność jednej śruby ze względu na poślizg styku sprężonego:
![]()
Liczba śrub potrzebna do przeniesienia siły poprzecznej:
![]()
Możemy więc przyjąć , że siła poprzeczna jest przenoszona przez dwie śruby , nie wliczone do przenoszenia momentu zginającego , a więc te położone najbliżej punktu obrotu.
Oczywiście takie rozumowanie jest tylko pewnym uproszczeniem , gdyż pewną wartość siły poprzecznej są również w stanie przenieść pozostałe śruby , gdyż blachy czołowe nie rozwarstwiają się. Każda z pozostałych śrub jest w stanie przenieść siłę poprzeczną równą sile tarcia wynikającej z docisku siłą SRt - St , gdzie St jest siłą rozciągającą w śrubie od momentu zginającego.