SPRAWOZDANIE Z OBRÓBKI UBYTKOWEJ |
|||
AGH IMiR |
|
Rok IV |
Grupa pościgowa |
Lab nr 2 |
Temat
Wiercenie, pogłębianie, rozwiercanie i frezowanie |
Data:18.10.2004 |
|
|
|
ocena |
|
1. Geometria wiertła krętego w układzie narzędzia
2. Szkic rozkładu składowych sił i momentu skrawania
przy wierceniu

Ff1 , Ff2 - składowe równoległe do osi
Fv1 , Fv2 - składowe prostopadłe do osi i równoległe do kierunku prędkości ruchu głównego
Fp1 , Fp2 - prostopadłe do dwu poprzednich
3. Geometria ostrza freza w układzie narzędzia

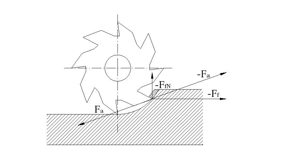
4.Frezowanie
a) frezowanie przeciwbieżne

wady:
-składowa pionowa usiłuje podnieść obrabiany przedmiot (drgania)
- podczas wcinania następuje poślizg i zgniot przedmiotu
- pogorszona gładkość obrabianej pow.
- mniejsza trwałość ostrza
- większe zapotrzebowanie mocy
poślizgu
- szybsze zużycie ostrzy
zalety: -mała czułość na luzy w mech. posuwu stołu(nakrętka dociskana do śruby)
- dobre przy frezowaniu materiałów niepodatnych na zgniot(żeliwo szare)
b) frezowanie współbieżne
zalety- ostrza frezu skrawa warstwę grubości od maksymalnej do zera przy wyjściu, dlatego poślizg w czasie używania ostrza nie występuje

- dociskanie przedmiotu obrabianego do stołu
-lepsza gładkość powierzchni
wady - przy frezowaniu materiałów o utwardzonej warstwy wierzchniej powierzchni obrabianej, warunki wcinania ostrza są mniej korzystne nie przy przeciwbieżnym
- możliwość występowania luzu między śrubą a nakrętką
7.Schemat kinematyczny nacinania rowka wpustowego przy użyciu podzielnicy

is- przełożenie podzelnicy p- pusuw
ih- przełożenie przekładni gitarowej PO- przedmito obrabiany
sp- skok śruby pociągowej d-średnica wałk
równanie kinematycze: ih= 
![]()
8. Część obliczeniowa z przeprowadzonych doświadczeń
frezowanie współbieżne i przeciwbieżne
frez walcowy NSWA φ80
z= 10 ostrzy
kąt pochylenia lini ostrza narzędzia α=15°
n=180obr/min
pt=90mm/min
a=1mm
materiał-pa4 100x16
V=![]()

=95,24m/min
Posuw na jedno ostrze
Pz=![]()
=![]()
=0,05mm
Posuw na jeden obrót freza
P= pz⋅ z = 0,05 ⋅ 10 = 0,5 mm/obr
Czas maszynowy
tm =![]()
= ![]()
=1,2 min
Liczba ostrzy skrawających wynosi:
Zc =![]()
+
= ![]()
+
= 3
b)Głowica frezarska
φ =63mm z = 10
materiał st5 60x30
a =1mm
n = 725 obr/min
pt =85mm/min
V =![]()
= 143,49 m/min
pz = ![]()
=![]()
=0,04 mm
pf = pz ⋅ z = 0,12mm/obr
czas maszynowy tm =![]()
= 0.88 min
c)Frezowanie rowka śrubowego przy pomocy podzielnicy
dw =52mm
kąt pochylenia linii śrubowej β=20°
skok śruby pociągowej hp =6mm
npobroty śruby pociągowej
np.=![]()
H= ![]()
np⋅ ih⋅ 1/1 ⋅ ![]()
=1
ih =![]()
= ![]()
=![]()
ih =![]()
=![]()
Dobieramy zatem koła :
z1 = 44
z2 = 64
z3 = 56
z4 = 72


