SYSTEMY MEDYCZNE W INTERNECIE
Internetowe wspomaganie działalności w zakresie medycyny obejmuje głównie:
1.profilaktykę;
2.diagnostykę (głównie wspomaganie diagnostyki);
3.terapię;
4.nadzór nad pacjentem w okresie rekonwalescencji;
5.edukację medyczną;
6.administrację szpitalną;
Gdy są małe osiedla i nie ma lekarzy, a jest tylko pielęgniarka to internet jest drogą do uzyskania pomocy i informacji do podjęcia dalszych decyzji.
1.PROFILAKTYKA.
Wykorzystanie stron internetu do procesu uświadamiania społeczeństwa w zakresie ekologii chorób, zagrożeń wynikających z niewłaściwego stylu życia i degradacji środowiska wraz ze wskazaniem środków i sposobów zapobiegania powstawania schorzeń może przynieść nieocenione rezultaty pod warunkiem spełnienia następujących wymagań:
· Wybór właściwych treści i jasnych jej sformułowań;
· Opracowanie pomysłowego scenariusza;
· Atrakcyjnej prezentacji oparte na wykorzystaniu multimediów i VR
Przeciwdziałanie nałogom i propagowanie zdrowego stylu życia. Ekologia, zdrowe powietrze.
2.DIAGNOSTYKA
Internetowe wspomaganie diagnostyki jest adresowane głównie do personelu małych przychodni leczniczych i ambulatoriów oddalonych od szpitali i klinik, gdzie często jeden lekarz lub wykwalifikowana pielęgniarka mają formułować diagnostykę i decydować o dalszym postępowaniu np.: czy leczyć, czy też transportować pacjenta do ośrodka dysponującego odpowiednimi specjalistami oraz środkami technicznymi i farmaceutycznymi. Pomoc internetowa to głównie łatwy dostęp do:
•Wzorów obrazowych i dźwiękowych; •Instrukcji ilustrowanych obrazami statycznymi i ruchowymi skojarzonymi z dźwiękiem; •Zdalnych konsultacji; •Udziału w zdalnych konsyliach (np.: video konferencje);
3.TERAPIA
Internetowe wspomaganie terapii w znacznej mierze dotyczy przypadków omówionych w poprzednim rozdziale a więc gdy działania lecznicze musi podjąć niedostatecznie przygotowany specjalistycznie lekarz lub pielęgniarka, przy czym udział w konsyliach o charakterze video konferencji może dotyczyć również specjalistycznych ośrodków medycznych w trudnych, nietypowych sytuacjach. Instrukcje internetowe w postaci obrazów statystycznych lub ruchowych z dźwiękiem mogą dotyczyć również posługiwania się nowym sprzętem terapeutycznym lub podawania nowych środków farmaceutycznych, co w szczególności odnosi się do leków o agresywnym działaniu.
4.NADZÓR W OKRESIE REKONWALESCENCJI
Rola internetu w okresie rekonwalescencji pacjenta przebywającego po za szpitalem, to nie wyłącznie multimedialne instrukcje i zalecenia dotyczące jego trybu życia i odpowiednich zachowań w różnych sytuacjach, ale to również stały zdalny monitoring stanu zdrowia pacjenta oraz zapewniony szybki kontakt z lekarzem.
5.EDUKACJA MEDYCZNA
Internetowa edukacja internetowa nie może w żądnym przypadku zastąpić studiów w akademiach, bowiem student medycyny znaczną część czasu studiów musi spędzać w stałym kontakcie z pacjentem w klinikach, w oddziałach odpowiadającym różnym specjalizacjom. Jednak strony internetu odpowiednio przygotowane mogą stanowić bardzo poważną pomoc w procesie kształtowania studentów medycyny w zakresie teorii i praktyki. Można to odnieść do wszystkich przedmiotów wchodzących do programu studiów.
Internet może w atrakcyjny sposób udostępnić wiedzę medyczną w postaci algorytmów postępowania diagnostycznego, terapeutycznego, służyć symulatorom wyrabiającymi prawidłowe nawyki w postępowaniu medycznym, czy obsłudze aparatury medycznej oraz służyć różnymi testami np.: sprawdzającymi przyswojoną wiedzę. Internetowe wspomaganie edukacji odgrywa poważną rolę w lekarskich studiach podyplomowych przygotowujących do egzaminów specjalistycznych, oraz w ustawicznym dokształcaniu lekarzy i pielęgniarek, co jest szczególnie ważne w przypadku pojawiających się lawinowo nowości w świecie medycznym.
6.ROLA INTERNETU W ADMINISTRACJI SZPITALNEJ
Oto kilka zadań, jakie internet może spełniać usprawniając administrację z pożytkiem dla funkcjonowania służby zdrowia:
oferowanie szerokiej informacji o funkcjonowaniu szpitala, czy przychodni lekarskiej użytecznej dla potencjalnego pacjenta z określonego regionu;
zdalne przyjmowanie zgłoszeń wraz z rejestracją na wizyty lekarskie, leczenie szpitalne lub określone zabiegi;
zdalne wnoszenie opłat za usługi służby zdrowia wykonane lub przyszłe;
przekazywanie szczegółowych informacji o pacjencie między szpitalami;
karty magnetyczne (chip) - zapis historii choroby pacjenta, przebieg leczenia;
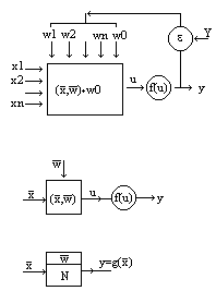
SZTUCZNE SIECI NEURONOWE
Sztuczne sieci neuronowe - są próbą naśladowania ludzkiego mózgu /biologiczne neurony powiązane ze sobą DOKOŃCZYĆ/
Model neuronu


x - sygnał wejściowy
u - wygnał aktywacji
f(u) - funkcja przejściowa
y - sygnał wyjściowy
UCZENIE NEURONU
Zbiór uczący z nauczycielem

Neuron jest nauczony jeśli błąd ε będzie mniejszy od pewnej liczby ε0.
Uczenie neuronu polega na odpowiednim dobraniu wag. Po obliczeniu błędu ε stosujemy reguły wywodzące się z metod optymalizacji (minimalizacji). Zastosowanie tych reguł służy poprawie wartości wag w tym kierunku by uzyskać funkcję g < ε0.
Jeśli F jest funkcją liniową to: ![]()
gdzie
a - współczynnik (oznacza on, że proporcjonalnie zmieniamy wagi)
Ostatecznie:

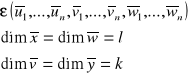
Model sztucznej sieci neuronowej:

SSN - trójwarstwowa

[U] - macierz wag warstwy wejściowej;
[V] - macierz wag warstwy ukrytej;
[W] - macierz wag warstwy wyjściowej;

l*k+k*m+m*n - N N - liczba zmiennych niezależnych od której zależy błąd ε. (przestrzeń N wymiarowa). Np.:
3 warstwy. Warstwa 1 - 10 neuronów, warstwa 2 - 3 neurony, warstwa 3 - 7 neuronów, l=5. Oblicz ilu wymiarowa przestrzeń?
5*10+10*3+3*7=101 - przestrzeń 101 wymiarowa.
Przykłady najnowszych zastosowań SSN.
NASA wykorzystuje SSN do sterowania ramieniem robota, którego zadaniem jest chwytanie przedmiotów znajdujących się w dowolnym położeniu, gdzie w warunkach nieważkości szczególnie trudno jest utrzymać manipulowane obiekty w stałym położeniu, a pewność chwytu zależy od stopnia zgodności orientacji osi przedmiotu i elementów chwytaka.
Uczeni z New York Univesity Medical Center wykorzystali SSN jako alternatywę dla złożonych tensorowych obliczeń dotyczących parametrów ruchu ramienia robota w celu znacznego przyspieszenia działania systemu sterowania, który dzięki SSN może działać w czasie rzeczywistym, podczas gdy zwykłe algorytmy realizowane na tych samych komputerach nie są w stanie osiągnąć wystarczającej szybkości przy wyznaczaniu wszystkich potrzebnych współrzędnych, przyśpieszeń i wielkości wymaganych sił oraz momentów obrotowych.
Firma General Dynamics opracowała dla US Navy oparty na SSN system klasyfikujący i rozpoznający szumy charakterystyczne dla napędów różnych typów statków i okrętów. Sieć jest zdalna nawet do rozróżnienia między sobą szumy różnych okrętów tego samego typu, co pozwala na identyfikację nazwy jednostki.
Naukowcy z University of Penylwania zbudowali SSN zdolną do rozpoznawania samolotów z ogromną dokładnością (różniących się detalami wielkości 18 cali zaobserwowanych z odległości 50 mil).
W szpitalu Anderson Medical Hospital w Południowej Karolinie SSN wykorzystano do realizacji procesu optymalizacji leczenia, zyskując miliony dolarów oszczędności i ratując życie kilkudziesięciu pacjentów (wg. publikacji).
Firma General Devices Space Systems Division użyła SSN do sterowania parą 150 zaworów doprowadzających paliwo i tlen do silników rakiety Atlas. SSN w oparciu na temat aktualnych fluktuacji mocy silnika potrafiła sterować zaworami trafniej niż poprzedni stosowany, kosztowny i zawodny złożony system automatyki.
Firma Eaton Corporation wykorzystała SSN do układu sterowania wspomagającego kierowanie dużej ciężarówki, przy szczególnie trudnych manewrach.
SSN często wykorzystywane są w elektrowniach do programowania ich obciążenia (między innymi w EC Hydro w Vancouver - sterownie turbinami o różnych charakterystykach).
US Air Force stosuje SSN do tworzenia (doskonalenia) symulatorów lotu.
Ford Motor Company przygotowuje z wykorzystaniem SSN nowy system diagnostyczny dla swoich silników.
ZDALNE NAUCZANIE
Edukacja za pośrednictwem Internetu: przyszłość nowoczesnego systemu nauczania.
Komputery z odpowiednim scenariuszem + multimedia + VR, to wspaniałe możliwości edukacyjne. Tekst, dźwięk, grafika, animacja, videosekwencyjna VR, to rewelacyjne narzędzie prezentacji wiedzy. Dzięki nim nauczanie staje się żywsze i barwne, a przekazywana wiedza koresponduje z rzeczywistością. Obraz z dźwiękiem, symulacje analizowanych zjawisk przyrodniczych i fizycznych oraz poglądowe animacje, filmy ukazujące praktyczne zastosowania wymaganych pojęć, przełamują schematy wywodu naszpikowanego terminami abstrakcyjnymi dla uczniów. Taki sposób prowadzenia zajęć intryguje i stymuluje samodzielne myślenie.
Organizując nauczanie na odległość należy odpowiedzieć na pytania:
czym jest nauczanie na odległość?
Z jakimi metodami nauczania możemy się spotkać?
W czym tkwi istota wykorzystania internetu i jakimi narzędziami się on posługuje?
Jakie daje korzyści i zagrożenia?
Jak przygotować materiał dydaktyczny wykorzystywany w nauczaniu na odległość?
Jakie wymagania musi spełnić nauczyciel, by sprostać współczesnym technikom nauczania?
Czym jest nauczanie na odległość?
Cechy charakterystyczne:
Nauczyciel i uczeń nie przebywają w jednym pomieszczeniu;
Do komunikacji nauczyciela z uczniem wykorzystuje się środki techniczne (druk, przekaz radiowy, telewizyjny, telefoniczny, komputerowy);
Nie jest wymagana obecność w tym samym czasie i miejscu uczących się;
Procesem kształcenia kieruje instytucja edukacyjna;
Nauczanie na odległość opiera się na samodzielnej nauce uczących się z możliwością wspierania zajęciami i konsultacjami bezpośrednimi.
Uczący się zdalnie muszą się wykazać:
Samodzielnością w pracy;
Uporczywością w dążeniu do celu;
Umiejętnością właściwej organizacji pracy;
Umiejętnością radzenia z pojawiającymi się problemami;
Zdolnościami technicznymi;
Nauczanie na odległość nie wyklucza tradycyjnej formy kształcenia w grupach. Istnieje możliwość uczestniczenia w videokonferencjach lub nieobowiązkowych samokształceniowych zajęciach grupowych. Największą zaletą zdalnego nauczania jest elastyczność procesu. Czego się uczyć?
Istnieje ogromny wybór szkół, kursów, przedmiotów udostępnianych przez różne środki przekazu. Dzięki różnego rodzaju symulatorom i wirtualnym laboratoriom można się uczyć na odległość bardzo wielu przedmiotów praktycznych, np.: latania.
W internetowej szkole można bez ograniczeń czasowych korzystać z interaktywnych metod i środków nauki w tym:
Symulatorów;
Systemów radiowych;
Telekomunikacji;
Łączy video itp.;
Jak się uczyć?
Tradycyjny - układ zaliczania w kolejnych semestrach;
Modułowy - uczący wybiera kolejność treści kształcenia
Kiedy się uczyć?
w trybie asynchronicznym - w dowolnym wybranym przez siebie czasie;
synchronicznym - zajęcia grupowe podczas których uczniowie mogą wymieniać opinie z nauczycielem, a także między sobą w czasie rzeczywistym. Kurs synchroniczny przypomina nauczanie tradycyjne bez uczęszczania do centrum edukacyjnego (dowolne miejsce nauki + PC + internet);
ROBOTYKA
Ustalenia wstępne
Cel i zakres działania robota (lista funkcji) - przeznaczenie robota, z jakich ma być materiałów, jaki jest jego zakres samodzielności;
Przewidywane obciążenia statystyczne i dynamiczne - trzeba przewidywać konstrukcję robota. Jakie ma być tam sterowanie, jaki napęd, siłowniki;
Wymagania materiałowe - robot musi być z odpowiednich materiałów, zależnie od środowiska, gdzie będzie pracował;
Podział układów sterowania (sterowanie nadrzędne, pseudoautonomiczne) - może być sterowane przez centralny komputer, albo mogą same decydować co robić, w zależności od zmieniających się warunków. Jest też sterowanie kaskadowe;
Zbiór programów testujących - testowanie jest na każdym etapie produkcji. Testowane są poszczególne części robota, potem testuje się całość po złożeniu robota. Testuje się mechanikę i oprogramowanie. Trzeba stosować odpowiednie procedury testujące;
Zadanie realizowane w oparciu o algorytmy AI
Rozpoznawanie haseł lub zadań języka naturalnego (mówionego, pisanego) - możliwość sterowania robota głosem. Możliwość programowania robota za pomocą komend wydawanych głosem;
Rozpoznawanie obrazów (identyfikacja cech, parametrów) - roboty dostosowują swoje ruchy do elementów z którymi ma pracować. Ma sprawdzać, czy dane elementy są;
Identyfikacja zjawiska (fizycznych, chemicznych, biologicznych itp) - czujniki mają mierzyć środowisko i sprawdzać parametry;
Optymalizacja realizowanych zadań - trzeba oszczędzać energię, minimalizować czas, materiały;
Generowanie sprawozdań i komentarzy dotyczących wykonywanych zadań - musi być udokumentowane to, co robot robi;
Koordynacja ruchów członów wykonawczych (efektorów) z identyfikacją parametrów obrazów lub innych zjawisk - robot musi reagować na środowisko i rozpoznawać przeszkody, reagować na niespodziewane przeszkody. Jego manipulatory nie powinny się zderzać. Musi umieć pracować w środowisku, w którym jest. Nie powinien robić kolizji z innymi robotami;
Podstawowe problemy w projektowaniu robotów
Opracowanie schematu blokowego nadrzędnego sterowania (algorytm koordynacji działań) - zaprojektowanie sieci działań całego zestawu robotów;
Opracowanie algorytmów podrzędnych układów sterowania;
Zaprojektowanie obwodów elektrycznych i elektronicznych - praca elektryków, mechaników, informatyków;
Opracowanie statystyczne i dynamiczne konstrukcji mechanicznych robota - robot musi być stabilny;
Zaprojektowanie napędów części ruchomych robota - precyzja, dokładność stabilność;
xk |
yk |
X1 X2 X3 ... Xn |
Y1 Y2 Y3 ... Yn |

![]()
- wektor sygnałów wejściowych
yi - sygnały wyjściowe
Warstwy:
WI - wejściowa
WH - ukryta
WO - wyjściowa