Obliczenia płyty żelbetowej
Obliczenia statyczne


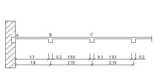
Schemat statyczny
Zestawienie obciążeń płyty stropowej
L.p. |
Wyszczególnienie i obliczenie Wartości |
Obc. charakt. |
Wsp. obc. |
Obciążenie obliczeniowe |
|||
|
|
|
|
|
|
||
1 |
Posadzka: lasriko bezspoinowe gr.20mm |
0,44 kPa |
1,3 (0,8) |
0,57 kPa |
0,35 kPa |
||
2 |
Płyta żelbetowa gr. 8 cm 0,08 x 24,0 |
1,92 kPa |
1,1 (0,9) |
2,11 kPa |
1,73 kPa |
||
3 |
Tynk cem.-wap., gr.1,5 cm 0,015 x 19,0 |
0,29 kPa |
1,3 (0,8) |
0,38 kPa |
0,23 kPa |
||
Obciążenie stałe |
|||||||
Obciążenie zmienne |
1,2 |
|
|||||
![]()
![]()
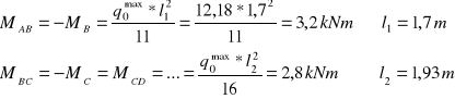
Obliczenie momentów zginających (metoda wyrównania momentów plastycznych)

Obliczenie współczynników w zależności od stosunku 
![]()
Zasięg momentu podporowego w skrajnym przęśle
![]()
Ujemny moment w przęśle B - C
![]()
Ujemny moment w przęśle C - D
![]()
Ujemny moment zastępczy w przęsłach

![]()
2 Wymiarowanie płyty
przyjęto beton B25 f
cd =13,3 MPa =13300 kPa stal AI St3S fyd=210 MPa = 210000 kPa
d = h - a - φ/2 = 8-1,5-0,5 = 6 cm
2.1 Przęsło A - B i podpora B
![]()
Potrzebny przekrój zbrojenia :
![]()
![]()
Przyjęto φ 6 co 10 cm o Fa = 2,83 cm2 > 2,63 cm2
2.2 Przęsło B - C i podpora C
![]()
Potrzebny przekrój zbrojenia :
![]()
![]()
Przyjęto φ 6 co 10 cm o Fa = 2,83 cm2
2.3.Zbrojenie na zastępczy moment :
w przęśle B-C
![]()
odczytano dla 0,039 ζ= 0,980
potrzebny przekrój zbrojenia :
![]()
przyjęto pręty ∅ 8 co 30 cm o Fa=1,68 cm2 >1,53 cm2.
w przęśle C-D
![]()
odczytano dla 0,027 ζ= 0,980
potrzebny przekrój zbrojenia :
![]()
przyjęto pręty ∅ 8 co 30 cm o Fa=1,68 cm2 > 1,04 cm2.
Zbrojenie rozdzielcze
przyjęto pręty ∅ 4,5 co 25 cm o Fa=0,64 cm2 > 1/10 ⋅ Fa = 1/10⋅ 2,63 = 0,263 cm2.
1
3
![]()